lemon-mirror:
Home >> Subaru >> 2021 >> Ascent Base >> Repair and Diagnosis >> Transmission >> Automatic Trans >> CVT Transaxle System >> Front Reduction Drive Gear >> Assembly

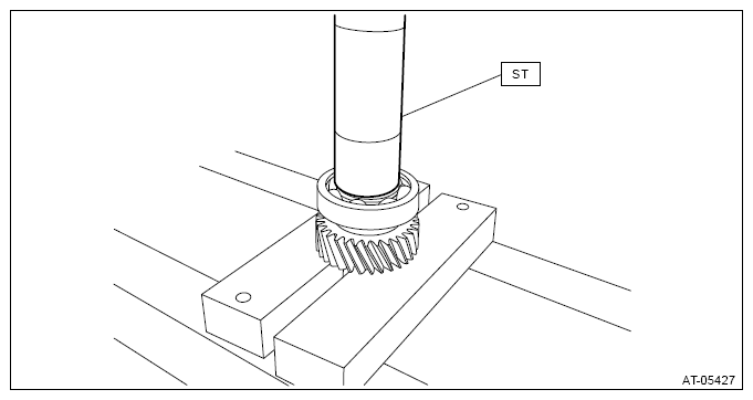
Front Reduction Drive Gear: Assembly

  1. Using the ST, install a new ball bearing to the front reduction drive gear.
    CAUTION:
    • Be sure to apply CVTF to press-fitting surface of ball bearing.
    • Use SUBARU genuine CVTF.

    Preparation tool: 

    ST: INSTALLER (18651AA000)

    G13200361Courtesy of SUBARU OF AMERICA, INC.
  2. Using ST1 and ST2, install a new ball bearing to the front reduction drive gear.

    Preparation tool: 

    ST1: INSTALLER (499757002)

    ST2: INSTALLER (398177700)

    G13200362Courtesy of SUBARU OF AMERICA, INC.
  3. Install a new seal ring.
    CAUTION:
    • Before installing seal rings, apply sufficient amount of CVTF to avoid damage and deformation.
    • Use SUBARU genuine CVTF.
    • When installing the seal rings, do not expand the seal rings too much.
    NOTE: Install the O-ring when installing the torque converter.
    G09482348Courtesy of SUBARU OF AMERICA, INC.