lemon-mirror:
Home >> Subaru >> 2021 >> Ascent Base >> Repair and Diagnosis >> Transmission >> Automatic Trans >> CVT Transaxle System >> Front Reduction Drive Gear >> Disassembly

Front Reduction Drive Gear: Disassembly

  1. Remove the seal ring and O-ring.
    G09482343Courtesy of SUBARU OF AMERICA, INC.
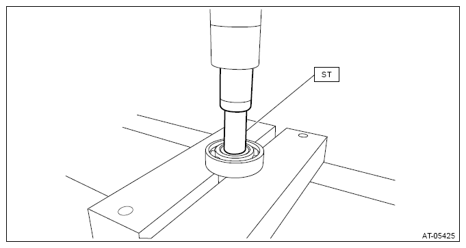
  2. Using the ST, remove the ball bearing from front reduction drive gear.

    Preparation tool: 

    ST: REMOVER (899864100)

    G13200359Courtesy of SUBARU OF AMERICA, INC.
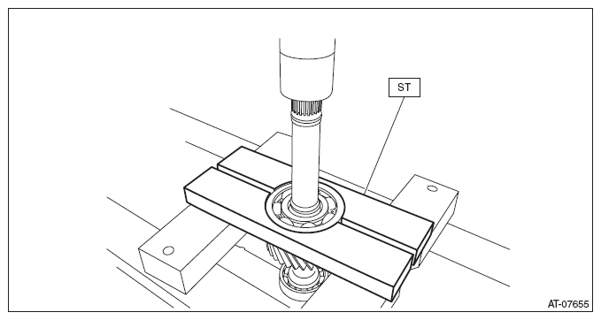
  3. Using the ST, remove the ball bearing from front reduction drive gear.

    Preparation tool: 

    ST: REMOVER (498077000)

    G09482345Courtesy of SUBARU OF AMERICA, INC.