lemon-mirror:
Home >> Subaru >> 2021 >> Ascent Base >> Repair and Diagnosis >> Transmission >> Automatic Trans >> CVT Transaxle System >> General Description >> Preparation Tool >> Special Tool

Special Tool

ILLUSTRATION TOOL NUMBER DESCRIPTION REMARKS
G13603041Courtesy of SUBARU OF AMERICA, INC.
398177700 INSTALLER
  • Used for installing the parking gear.
  • Used for installing the ball bearing of reduction driven gear.
  • Used for installing the ball bearing and roller bearing of the transmission case.
    NOTE: Used together with PRESS SNAP RING (499755602).
  • Used for installing the roller bearing of the transmission case.
    NOTE: Used together with BASE (20299AG010).
  • Used for installing the ball bearing of the front reduction drive gear.
    NOTE: Used together with INSTALLER (499757002).
G05002462Courtesy of SUBARU OF AMERICA, INC.
398497701 SEAT
  • Used for removing the ball bearing of transfer reduction driven gear.
    NOTE: Used together with REMOVER (498077600) and REMOVER (899864100).
  • Used for removing ball bearing of reduction driven gear.
    NOTE: Used together with REMOVER (498077600) and REMOVER (899864100).
  • Used for removing the ball bearing of transfer reduction driven gear.
    NOTE: Used together with REMOVER (18720AA000) and REMOVER (899864100).
  • Used for removing the bearing retainer.
    NOTE: Used together with REMOVER (899864100) and BEARING REMOVER (18767AA000).
  • Used for removing the side bearing inner race.
    NOTE: Used together with REMOVER (498077000) and REMOVER (899864100).
  • Used for installing the side bearing inner race.
    NOTE: Used together with BUSHING 1-2 INSTALLER (499277100).
G05002431Courtesy of SUBARU OF AMERICA, INC.
398527700 PULLER ASSY
  • Used for removing the roller bearing of the primary pulley side and the secondary pulley side in the transmission case.
  • Used for removing the ball bearing of the reduction driven gear side in the transmission case.
  • Used for removing the side bearing outer race.
  • Used for removing the ball bearing of the converter case cover.
    NOTE: Used together with CLAW (18760AA000).
G05002448Courtesy of SUBARU OF AMERICA, INC.
398643600 GAUGE
  • Used for adjusting the thrust bearing of the rear drive shaft.
  • Used for adjusting the transfer reduction driven gear shim.
  • Used for adjusting the drive pinion shim.
  • Used for adjusting the front reduction drive gear shim.
  • Used for adjusting the front reduction driven gear shim (front side).
G07913281Courtesy of SUBARU OF AMERICA, INC.
399513600 INSTALLER
  • Used to install the rear drive shaft ball bearing.
  • Used for removing the ball bearing of drive sprocket.
G05002432Courtesy of SUBARU OF AMERICA, INC.
498057300 INSTALLER Used for installing the extension case oil seal.
G05002433Courtesy of SUBARU OF AMERICA, INC.
498077000 REMOVER
  • Used for removing ball bearing of front reduction drive gear.
  • Used for removing the taper roller bearing inner race (front side) of drive pinion.
  • Used for removing the side bearing inner race.
    NOTE: Used together with SEAT (398497701) and REMOVER (899864100).
G05002454Courtesy of SUBARU OF AMERICA, INC.
498077600 REMOVER
  • Used for removing the ball bearing of the rear drive shaft.
  • Used for removing the ball bearing of transfer reduction driven gear.
    NOTE: Used together with SEAT (398497701) and REMOVER (899864100).
  • Used for removing ball bearing of reduction driven gear.
    NOTE: Used together with SEAT (398497701) and REMOVER (899864100).
  • Used for removing the ball bearing of drive sprocket.
    NOTE: Used together with INSTALLER (399513600).
G05002439Courtesy of SUBARU OF AMERICA, INC.
498255400 PLATE Used for measuring the backlash of the hypoid gear set.
G04997553Courtesy of SUBARU OF AMERICA, INC.
498277200 STOPPER SET Used for removing and installing transmission body.
G07665421Courtesy of SUBARU OF AMERICA, INC.
498497300 CRANKSHAFT STOPPER Used for removing and installing the drive plate.
G05002425Courtesy of SUBARU OF AMERICA, INC.
498575400 OIL PRESSURE GAUGE ASSY Used for measuring the transfer clutch pressure.
NOTE:
  • Used together with PRESSURE GAUGE ADAPTER (18681AA000), ADAPTER HOSE A (34099AC010) and ADAPTER HOSE B (34099AC020).
  • Use the genuine O-ring (part No. 806908150) for installation.
G13199921Courtesy of SUBARU OF AMERICA, INC.
498897700 OIL PRESSURE ADAPTER SET
  • Used for measuring the secondary pressure.
    NOTE: Used together with PRESSURE GAUGE ADAPTER (18681AA000) and OIL PRESSURE GAUGE ASSY (18801AA000).
  • Used for measuring line pressure.
    NOTE: Used together with PRESSURE GAUGE ADAPTER (18681AA010) and OIL PRESSURE GAUGE ASSY (18801AA000).
G05002445Courtesy of SUBARU OF AMERICA, INC.
499267300 STOPPER PIN Used for adjusting the inhibitor switch.
G05002922Courtesy of SUBARU OF AMERICA, INC.
499277100 BUSHING 1-2 INSTALLER
  • Used for removing and installing the transfer reduction drive gear.
    NOTE: Used together with BEARING REMOVER (18767AA000) when removing.
  • Used for installing the ball bearing of the transfer reduction drive gear.
  • Used for installing drive pinion retainer oil seal.
  • Used for installing the ball bearing of the transfer reduction driven gear.
  • Used for installing the side bearing inner race.
    NOTE: Used together with SEAT (398497701).
G05002923Courtesy of SUBARU OF AMERICA, INC.
499277200 INSTALLER
  • Used for installing the taper roller bearing inner race (front side) of drive pinion.
  • Used for installing the reduction driven gear.
G05022173Courtesy of SUBARU OF AMERICA, INC.
499575400 GAUGE Used for adjusting the primary pulley shim.
G06654336Courtesy of SUBARU OF AMERICA, INC.
499575600 GAUGE Used for adjusting the forward clutch washer.
NOTE: Used together with PULLER SET (499737100).
G05002453Courtesy of SUBARU OF AMERICA, INC.
499737100 PULLER SET
  • Used for adjusting the thrust bearing of the rear drive shaft.
    NOTE: Use the rack only.
  • Used for adjusting the forward clutch washer.
    NOTE:
    • Use the rack only.
    • Used together with GAUGE (499575600).
G05022175Courtesy of SUBARU OF AMERICA, INC.
499755602 PRESS SNAP RING
  • Used for installing the ball bearing of the reduction driven gear side in the transmission case and the roller bearing of the secondary pulley side.
    NOTE: Used together with INSTALLER (398177700).
  • Used for installing the drive sprocket ball bearing.
  • Used for installing the ball bearing of the converter case cover.
G05002924Courtesy of SUBARU OF AMERICA, INC.
499757002 INSTALLER Used for installing the ball bearing of the front reduction drive gear.
NOTE: Used together with INSTALLER (398177700).
G05002446Courtesy of SUBARU OF AMERICA, INC.
499787700 WRENCH Used for adjusting hypoid gear set backlash.
NOTE: Used together with HOLDER (18667AA010).
G05002935Courtesy of SUBARU OF AMERICA, INC.
899864100 REMOVER
  • Used for removing the ball bearing of transfer reduction driven gear.
    NOTE: Used together with SEAT (398497701) and REMOVER (498077600).
  • Used for removing the bearing retainer.
    NOTE: Used together with SEAT (398497701) and BEARING REMOVER (18767AA000).
  • Used for removing ball bearing of reduction driven gear.
    NOTE: Used together with SEAT (398497701) and REMOVER (498077600).
  • Used for removing the side bearing inner race.
    NOTE: Used together with SEAT (398497701) and REMOVER (498077000).
  • Used for removing ball bearing of front reduction drive gear.
G05002937Courtesy of SUBARU OF AMERICA, INC.
899904100 STRAIGHT PIN REMOVER Used for removing the spring pin.
G08317666Courtesy of SUBARU OF AMERICA, INC.
927720000 HOUSING BUSHING INSTALLER AND REMOVER Used for installing the oil seal of the oil pump chain cover.
NOTE: Use BUSHING SHAFT (927880000) and BASE TUBE LATERAL LINK (927890000).
G13591922Courtesy of SUBARU OF AMERICA, INC.
18270KA020 SOCKET (E20) Used for removing and installing the drive pinion retainer.
G10218480Courtesy of SUBARU OF AMERICA, INC.
18270AA040 SOCKET Used for installing the test plug (transfer clutch pressure).
NOTE: Used together with SPECIAL TOOL CONDENSER (73099SG000).
G10218429Courtesy of SUBARU OF AMERICA, INC.
18460AA040 CHECK BOARD Used for measuring voltage and resistance of TCM terminals.
G13863739Courtesy of SUBARU OF AMERICA, INC.
18621AA000 ADAPTER WRENCH Used for removing and installing the drive pinion lock nut.
NOTE: Used together with HOLDER (18667AA010).
G05003188Courtesy of SUBARU OF AMERICA, INC.
18632AA000 TRANSMISSION STAND Used for disassembling and assembling the transmission body.
G13621844Courtesy of SUBARU OF AMERICA, INC.
18651AA000 INSTALLER Used for installing the ball bearing of the front reduction drive gear.
G13591927Courtesy of SUBARU OF AMERICA, INC.
18657AA000 INSTALLER Used for installing the oil seal of inhibitor switch.
G05003220Courtesy of SUBARU OF AMERICA, INC.
18657AA020 OIL SEAL INSTALLER Used for installing drive pinion retainer oil seal.
G13591433Courtesy of SUBARU OF AMERICA, INC.
18658AA021 WRENCH COMPL RETAINER Used for removing and installing the differential side retainer.
G05022160Courtesy of SUBARU OF AMERICA, INC.
18667AA010 HOLDER
  • Used for adjusting hypoid gear set backlash.
    NOTE: Used together with WRENCH (499787700).
  • Used for removing and installing the drive pinion lock nut.
    NOTE: Used together with ADAPTER WRENCH (18621AA000).
G13863746Courtesy of SUBARU OF AMERICA, INC.
499247400 INSTALLER Used for installing the differential side retainer oil seal.
G07913245Courtesy of SUBARU OF AMERICA, INC.
18681AA000 PRESSURE GAUGE ADAPTER
  • Used for measuring the secondary pressure.
    NOTE:
    • Use the genuine O-ring (part No. 806911080) for installation.
    • Used together with OIL PRESSURE ADAPTER SET (498897700) and OIL PRESSURE GAUGE ASSY (18801AA000).
  • Used for measuring the transfer clutch pressure.
    NOTE:
    • Use the genuine O-ring (part No. 806911080) for installation.
    • Used together with OIL PRESSURE GAUGE ASSY (498575400), ADAPTER HOSE A (34099AC010) and ADAPTER HOSE B (34099AC020).
G08317644Courtesy of SUBARU OF AMERICA, INC.
18681AA010 PRESSURE GAUGE ADAPTER Used for measuring line pressure.
NOTE:
  • Use the genuine O-ring (part No. 806916050) for installation.
  • Used together with OIL PRESSURE ADAPTER SET (498897700) and OIL PRESSURE GAUGE ASSY (18801AA000).
G13602204Courtesy of SUBARU OF AMERICA, INC.
18720AA000 REMOVER Used for removing the ball bearing of transfer reduction driven gear.
NOTE: Used together with SEAT (398497701) and REMOVER (899864100).
G05003217Courtesy of SUBARU OF AMERICA, INC.
18760AA000 CLAW Used for removing the ball bearing of the converter case cover.
NOTE: Used together with PULLER ASSY (398527700).
G09487703Courtesy of SUBARU OF AMERICA, INC.
18762AA001 COMPRESSOR SPECIAL TOOL
  • Used for removing and installing the transfer clutch piston.
  • Used for removing and installing the reverse brake piston.
    NOTE: Used together with COMPRESSOR SHAFT (18763AA000) and COMPRESSOR SUPPORT (18765AA000).
  • Used for removing and installing the forward clutch piston.
  • COMPRESSOR SPECIAL TOOL (18762AA000) can also be used.
G05022166Courtesy of SUBARU OF AMERICA, INC.
18763AA000 COMPRESSOR SHAFT Used for removing and installing the reverse brake piston.
NOTE: Used together with COMPRESSOR SPECIAL TOOL (18762AA001) and COMPRESSOR SUPPORT (18765AA000).
G13863753Courtesy of SUBARU OF AMERICA, INC.
18765AA000 COMPRESSOR SUPPORT Used for removing and installing the reverse brake piston.
NOTE: Used together with COMPRESSOR SPECIAL TOOL (18762AA001) and COMPRESSOR SHAFT (18763AA000).
G05022178Courtesy of SUBARU OF AMERICA, INC.
18767AA000 BEARING REMOVER
  • Used for removing the transfer reduction drive gear.
    NOTE: BUSHING 1-2 INSTALLER (499277100)
  • Used for removing the bearing retainer.
    NOTE: Used together with SEAT (398497701) and REMOVER (899864100).
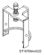
G13199952Courtesy of SUBARU OF AMERICA, INC.
18769AA020 EXPANDER PULLEY Used for removing and installing the secondary pulley.
G07913243Courtesy of SUBARU OF AMERICA, INC.
18801AA000 OIL PRESSURE GAUGE ASSY
  • Used for measuring the secondary pressure.
    NOTE: Used together with OIL PRESSURE ADAPTER SET (498897700) and PRESSURE GAUGE ADAPTER (18681AA000).
  • Used for measuring line pressure.
    NOTE: Used together with OIL PRESSURE ADAPTER SET (498897700) and PRESSURE GAUGE ADAPTER (18681AA010).
G05032323Courtesy of SUBARU OF AMERICA, INC.
20299AG010 BASE Used for installing the roller bearing on primary pulley side.
NOTE: Used together with INSTALLER (398177700).
G05032872Courtesy of SUBARU OF AMERICA, INC.
34099AC010 ADAPTER HOSE A Used for measuring the transfer clutch pressure.
NOTE: Used together with OIL PRESSURE GAUGE ASSY (498575400), PRESSURE GAUGE ADAPTER (18681AA000) and ADAPTER HOSE B (34099AC020).
G05032873Courtesy of SUBARU OF AMERICA, INC.
34099AC020 ADAPTER HOSE B Used for measuring the transfer clutch pressure.
NOTE:
  • Use the genuine union screw (part No. 801914010) and gasket (part No. 803914060) for installation.
  • Used together with OIL PRESSURE GAUGE ASSY (498575400), PRESSURE GAUGE ADAPTER (18681AA000) and ADAPTER HOSE A (34099AC010).
G13591943Courtesy of SUBARU OF AMERICA, INC.
38415AA070 Axle shaft Used for measuring the hypoid gear set backlash and adjusting the thrust washer.
NOTE: This is the SUBARU genuine part.
G05002430Courtesy of SUBARU OF AMERICA, INC.
41099AC000 ENGINE SUPPORT ASSY Used for removing and installing transmission body.
G13591946Courtesy of SUBARU OF AMERICA, INC.
73099SG000 SPECIAL TOOL CONDENSER Used for installing the test plug (transfer clutch pressure).
NOTE: Used together with SOCKET (18270AA040).
G12515772Courtesy of SUBARU OF AMERICA, INC.
- SUBARU SELECT MONITOR 4 Used for setting of each function and troubleshooting for electrical system.
NOTE: For detailed operation procedures, refer to "Help" of application.