lemon-mirror:
Home >> Subaru >> 2021 >> Ascent Base >> Repair and Diagnosis >> Transmission >> Automatic Trans >> CVT Transaxle System >> Reduction Driven Gear >> Disassembly

Reduction Driven Gear: Disassembly

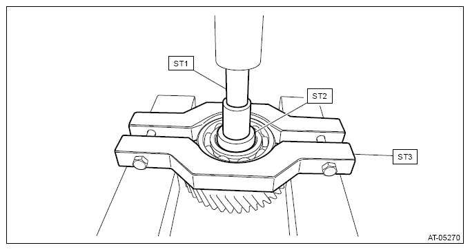
  1. Remove the bearing retainer using ST1, ST2, ST3 and a press.

    Preparation tool: 

    ST1: REMOVER (899864100)

    ST2: SEAT (398497701)

    ST3: BEARING REMOVER (18767AA000)

    G13200219Courtesy of SUBARU OF AMERICA, INC.
  2. Remove the snap ring.
    G13200220Courtesy of SUBARU OF AMERICA, INC.
  3. Remove the ball bearing using ST1, ST2, ST3 and a press.

    Preparation tool: 

    ST1: REMOVER (899864100)

    ST2: SEAT (398497701)

    ST3: REMOVER (498077600)

    G13200221Courtesy of SUBARU OF AMERICA, INC.