lemon-mirror:
Home >> Subaru >> 2021 >> Ascent Base >> Repair and Diagnosis >> Transmission >> Automatic Trans >> CVT Transaxle System >> Transfer Clutch >> Assembly

Transfer Clutch: Assembly

  1. Using the ST and a press, install the parking gear to the transfer drive gear.

    Preparation tool: 

    ST: INSTALLER (398177700)

    G13200142Courtesy of SUBARU OF AMERICA, INC.
  2. Install the snap ring to transfer drive gear.
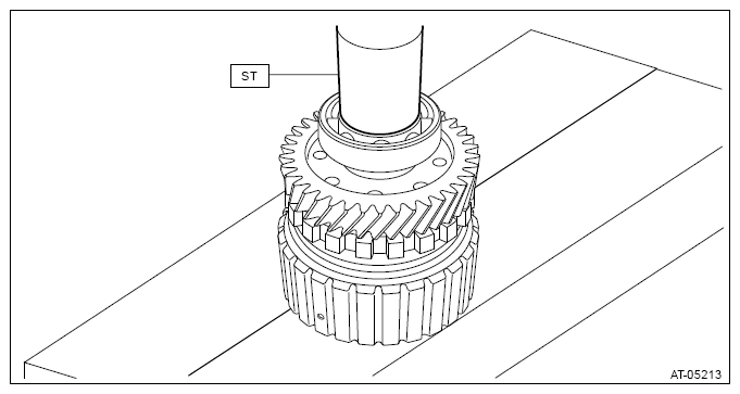
  3. Using the ST and a press, install the transfer drive gear to reduction drive gear shaft.

    Preparation tool: 

    ST: BUSHING 1-2 INSTALLER (499277100)

    G13200143Courtesy of SUBARU OF AMERICA, INC.
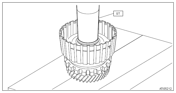
  4. Using the ST and a press, install a new ball bearing.
    CAUTION:
    • Before press-fitting the ball bearing, apply CVTF to press-fitting surface.
    • Use SUBARU genuine CVTF.

    Preparation tool: 

    ST: BUSHING 1-2 INSTALLER (499277100)

    G13200144Courtesy of SUBARU OF AMERICA, INC.
  5. Attach the transfer clutch piston to the reduction drive gear shaft.
    CAUTION:
    • Before installing the transfer clutch piston, apply CVTF to the lip section of transfer clutch piston.
    • Use SUBARU genuine CVTF.
  6. Install the return spring.
  7. Install the transfer clutch piston seal.
  8. Using the ST and a press, install the snap ring.

    Preparation tool: 

    ST: COMPRESSOR SPECIAL TOOL (18762AA001)

    G13863961Courtesy of SUBARU OF AMERICA, INC.
  9. Install the pressure plate, driven plate, drive plate and snap ring.
  10. Before measuring clearance "A", place same thickness shims on both sides to prevent the pressure plate from tilting.
  11. When the clearance "A" exceeds the limit, select the transfer clutch plate set and pressure plate, and adjust the clearance "A" within the specified value.

    Specification: 

    0.7 - 1.1 mm (0.028 - 0.043 in)

    Service limit: 

    1.6 mm (0.063 in)

    G09482096Courtesy of SUBARU OF AMERICA, INC.
    1. Measure the thickness of the pressure plate for the transfer clutch plate set that has been used before replacement.
    2. Select the transfer clutch plate set that uses the pressure plate of which the value is close to the measured value in (1), and check the clearance "A".
    3. When the clearance "A" exceeds the limit in step (2), replace the pressure plate installed on the lower side of the transfer clutch plate set, and check the clearance "A" again.
    4. When the clearance "A" exceeds the limit in step (3), select the transfer clutch plate set that was not used in step (2), and adjust the clearance "A" again.
  12. Check the clearance between snap ring and pressure plate. Ref. to CONTINUOUSLY VARIABLE TRANSMISSION (TR690)>Transfer Clutch>INSPECTION .