lemon-mirror:
Home >> Subaru >> 2021 >> Crosstrek Base, Standard Trans >> Repair and Diagnosis >> Engine Mechanical >> Mechanical >> Engine Mechanical System >> Engine Assembly >> Removal >> Gasoline Engine Model

Gasoline Engine Model

  1. Remove the striker - front hood. Ref. to EXTERIOR BODY PANELS>FRONT HOOD>DISASSEMBLY .
  2. Fully open the front hood. Ref. to REPAIR CONTENTS>REPAIR CONTENTS>NOTE>STAY ASSEMBLY - FRONT HOOD .
  3. Release the fuel pressure. Ref. to FUEL INJECTION (FUEL SYSTEMS) (H4DO (EXCEPT FOR HEV))>FUEL>PROCEDURE>RELEASING OF FUEL PRESSURE .
  4. Collect the refrigerant. Ref. to AIR CONDITIONER (EXCEPT FOR HEV)>REFRIGERANT RECOVERY PROCEDURE>PROCEDURE .
  5. Open the fuel filler lid and remove the fuel filler cap.
    NOTE: This operation is required to release the inner pressure of the fuel tank.
  6. Disconnect the ground terminal of the battery sensor and the positive terminal of the battery. Ref. to REPAIR CONTENTS>REPAIR CONTENTS>NOTE>BATTERY .
  7. Remove the air intake boot. Ref. to INTAKE (INDUCTION) (H4DO (EXCEPT FOR HEV))>AIR INTAKE BOOT>REMOVAL .
  8. Remove the air cleaner case (rear). Ref. to INTAKE (INDUCTION) (H4DO (EXCEPT FOR HEV))>AIR CLEANER CASE>REMOVAL .
  9. Remove the radiator. Ref. to COOLING (H4DO (EXCEPT FOR HEV))>RADIATOR>REMOVAL .
  10. Disconnect the connector (A), connector (B) and terminal (C). (Fixed displacement compressor model)
  11. Remove the clip (D) and clip (E) that secure the battery cable assembly. (Fixed displacement compressor model)
  12. Disconnect the hose - pressure suction and the hose - pressure discharge from the A/C compressor. (Fixed displacement compressor model) Ref. to AIR CONDITIONER (EXCEPT FOR HEV)>HOSE AND PIPE>REMOVAL .
    G11253150Courtesy of SUBARU OF AMERICA, INC.
  13. Disconnect the connector (A), connector (B), connector (C) and terminal (D). (Variable displacement compressor model)
  14. Remove the clip (E) and clip (F) securing the battery cable assembly. (Variable displacement compressor model)
  15. Disconnect the hose - pressure suction and the hose - pressure discharge from the A/C compressor. (Variable displacement compressor model) Ref. to AIR CONDITIONER (EXCEPT FOR HEV)>HOSE AND PIPE>REMOVAL .
    • 2.0 L model
      G11253151Courtesy of SUBARU OF AMERICA, INC.
    • 2.5 L model
      G13875935Courtesy of SUBARU OF AMERICA, INC.
  16. Disconnect the brake booster vacuum hose (A).
  17. Disconnect the connector (B), and remove the engine wiring harness from the clip (C).
  18. Remove the clip (D) securing battery cable assembly and release the claw (E).
    • 2.0 L model
      G11253152Courtesy of SUBARU OF AMERICA, INC.
    • 2.5 L model
      G13867823Courtesy of SUBARU OF AMERICA, INC.
  19. Disconnect connector (A) from ECM.
    CAUTION: In order to prevent damaging the connector (A), check that the lock is released completely when moving the lever.
    NOTE: To disconnect the connector (A), press the portion (a) shown in the figure to release the lock and move the lever in the direction of arrow.
    G13223989Courtesy of SUBARU OF AMERICA, INC.
  20. Disconnect the connector (B) from the main fuse box, and remove the engine wiring harness from the clip (C).
    G13600608Courtesy of SUBARU OF AMERICA, INC.
  21. Release the claw (A) securing the battery cable assembly to the bracket.
  22. Release the claw (B) securing the engine wiring harness to the bracket, and place it aside so that it does not interfere with work.
    G13224267Courtesy of SUBARU OF AMERICA, INC.
  23. Disconnect the heater inlet hose (A) and the heater outlet hose (B).
    G11253155Courtesy of SUBARU OF AMERICA, INC.
  24. Disconnect the transmission harness connector from the engine wiring harness. (CVT model)
    G11253156Courtesy of SUBARU OF AMERICA, INC.
  25. Remove the TCM. (Impreza CVT model) Ref. to CONTINUOUSLY VARIABLE TRANSMISSION (TR580 IMPREZA)>TRANSMISSION CONTROL MODULE (TCM)>REMOVAL .
  26. Remove the bolt which holds the transmission harness to the valve cover, and turn the transmission harness clockwise till the bolt hole can be seen as shown in the figure, and tighten the bolt to temporary lock the harness. (Impreza CVT model)
    NOTE: This procedure is required to prevent the transmission harness from touching the vehicle body during engine removal/installation.
    G11253157Courtesy of SUBARU OF AMERICA, INC.
  27. Remove the pitching stopper. (Except for Impreza CVT model)

    CVT model: 

    Ref. to CONTINUOUSLY VARIABLE TRANSMISSION (TR580 CROSSTREK)>TRANSMISSION MOUNTING SYSTEM>REMOVAL>PITCHING STOPPER .

    5MT model: 

    Ref. to MANUAL TRANSMISSION AND DIFFERENTIAL (5MT)>TRANSMISSION MOUNTING SYSTEM>REMOVAL>PITCHING STOPPER .

    6MT model: 

    Ref. to MANUAL TRANSMISSION AND DIFFERENTIAL (6MT)>TRANSMISSION MOUNTING SYSTEM>REMOVAL>PITCHING STOPPER .

  28. Disconnect the brake booster vacuum hose (A) from the vacuum pump.
    NOTE: Before disconnecting the brake booster vacuum hose, use a marker to put an alignment mark (a) at the position shown in the figure when the clip is slid.
    G13230034Courtesy of SUBARU OF AMERICA, INC.
  29. Disconnect the water hose (B) and water hose (C) from the CVTF cooler (with warmer feature) and the EGR cooler. (CVT model)
    • Impreza model
      G11253158Courtesy of SUBARU OF AMERICA, INC.
    • Crosstrek model
      G13875946Courtesy of SUBARU OF AMERICA, INC.
  30. Lift up the vehicle.
  31. Disconnect the ground cord on the engine side.
    G11253159Courtesy of SUBARU OF AMERICA, INC.
  32. Remove the nuts which secure the engine mounting to the front crossmember. (CVT model)
    G11253160Courtesy of SUBARU OF AMERICA, INC.
  33. Remove the nuts which secure the engine mounting to the front crossmember. (MT model)
    G11253161Courtesy of SUBARU OF AMERICA, INC.
  34. Remove the crossmember support - rear RH. Ref. to FRONT SUSPENSION>CROSSMEMBER SUPPORT>REMOVAL .
  35. Remove the bolts and nuts which hold the lower side of transmission to the engine.
    • Impreza CVT model
      G08316839Courtesy of SUBARU OF AMERICA, INC.
    • Crosstrek CVT model
      G13600620Courtesy of SUBARU OF AMERICA, INC.
    • MT model
      G08316840Courtesy of SUBARU OF AMERICA, INC.
  36. Lower the vehicle.
  37. Remove the starter. Ref. to STARTING/CHARGING SYSTEMS (H4DO (EXCEPT FOR HEV))>STARTER>REMOVAL .
  38. Separate the torque converter from drive plate. (2.0 L CVT model)
    1. Disconnect the connector (A) and connector (B), and remove the clip (C) from the bracket.
    2. Disconnect the PCV hose (D) from the intake manifold assembly and the PCV valve, and then remove the PCV hose (D).
    3. Remove the plug (E) from the service hole.
      G11253164Courtesy of SUBARU OF AMERICA, INC.
    4. Insert the wrench into the crank pulley bolt, and rotate the crank pulley to remove the bolts (6 places) securing the torque converter to the drive plate.
      G11253165Courtesy of SUBARU OF AMERICA, INC.
    5. Attach the ST to the converter case.

      Preparation tool: 

      ST: STOPPER SET (498277200)

      • Impreza model
        G08316853Courtesy of SUBARU OF AMERICA, INC.
      • Crosstrek model
        G13600625Courtesy of SUBARU OF AMERICA, INC.
  39. Separate the torque converter from drive plate. (2.5 L model)
    1. Remove the PCV hose No. 1. Ref. to EMISSION CONTROL (AUX. EMISSION CONTROL DEVICES) (H4DO (EXCEPT FOR HEV))>PCV HOSE>REMOVAL>PCV HOSE NO. 1 .
    2. Disconnect the connector (A), and remove the plug (B) from the service hole.
      G13875957Courtesy of SUBARU OF AMERICA, INC.
    3. Insert the wrench into the crank pulley bolt, and rotate the crank pulley to remove the bolts (4 places) securing the torque converter to the drive plate.
      G13603122Courtesy of SUBARU OF AMERICA, INC.
    4. Attach the ST to the converter case.

      Preparation tool: 

      ST: STOPPER SET (498277200)

      G13600625Courtesy of SUBARU OF AMERICA, INC.
  40. Disconnect the fuel delivery tube and evaporation hose.
    CAUTION:
    • Be careful not to spill fuel.
    • Catch the fuel from the tubes using a container or cloth.
    1. Disconnect the evaporation hose (A) from the purge control solenoid valve, and remove the evaporation hose (A) from the clip (B).
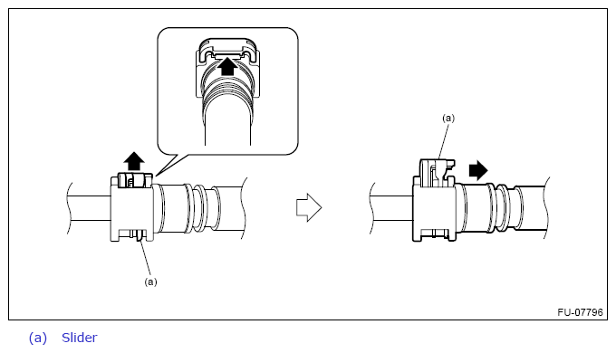
    2. Remove the clip (B) from the intake manifold assembly, and disconnect the quick connector of the fuel delivery tube (C) from the fuel pipe.
      NOTE: Disconnect the quick connector as shown in the figure.
      G13875960Courtesy of SUBARU OF AMERICA, INC.
      • 2.0 L model
        G11253168Courtesy of SUBARU OF AMERICA, INC.
      • 2.5 L model
        G13618844Courtesy of SUBARU OF AMERICA, INC.
  41. Separate the engine and transmission.
    CAUTION: Before removing the engine away from transmission, check to be sure no work has been overlooked.
    1. Using the ST1, install the ST2 to the engine unit.

      Preparation tool: 

      ST1: BOLT (18363AA050)

      ST2: HANGER (18360AA040)

      Tightening torque: 

      43 N.m (4.4 kgf-m, 31.7 ft-lb)

      G11253169Courtesy of SUBARU OF AMERICA, INC.
    2. Support the engine with a lifting device and wire ropes.
      G13875964Courtesy of SUBARU OF AMERICA, INC.
    3. Support the transmission with a garage jack.
      CAUTION: Be sure to perform this procedure to prevent the transmission from lowering by its own weight.
      G13875965Courtesy of SUBARU OF AMERICA, INC.
    4. Remove the bolts which hold the upper side of the transmission to the engine.
      • Impreza CVT model
        G08316854Courtesy of SUBARU OF AMERICA, INC.
      • Crosstrek CVT model
        G13600632Courtesy of SUBARU OF AMERICA, INC.
      • MT model
        G08316855Courtesy of SUBARU OF AMERICA, INC.
  42. Remove the engine unit from the vehicle.
    NOTE: Be careful not to damage adjacent parts or body panels with crank pulley, oil level gauge, etc.
    1. With a lifting device and a garage jack, lift the engine unit together with the transmission.
      CAUTION: When lifting up the engine, pay attention to the clearance of each part and be careful not to lift the engine too much, in order to prevent damaging the vehicle.
      NOTE: Lift it high enough until the stud bolt of the engine mounting is completely drawn out of the front crossmember.
    2. Move the engine horizontally until engine is withdrawn from transmission. (CVT model)
    3. Move the engine in the horizontal direction to detach the main shaft from the clutch cover. (MT model)
    4. Slowly move the engine away from engine compartment.
  43. Remove the engine mounting from the engine.
  44. Remove the ST1 and ST2 from the engine unit.
    G11253169Courtesy of SUBARU OF AMERICA, INC.