lemon-mirror:
Home >> Subaru >> 2021 >> Forester Base >> Repair and Diagnosis >> Body & Frame >> Windows >> Power Window System (Diagnostics) >> General Description >> System Block Diagram

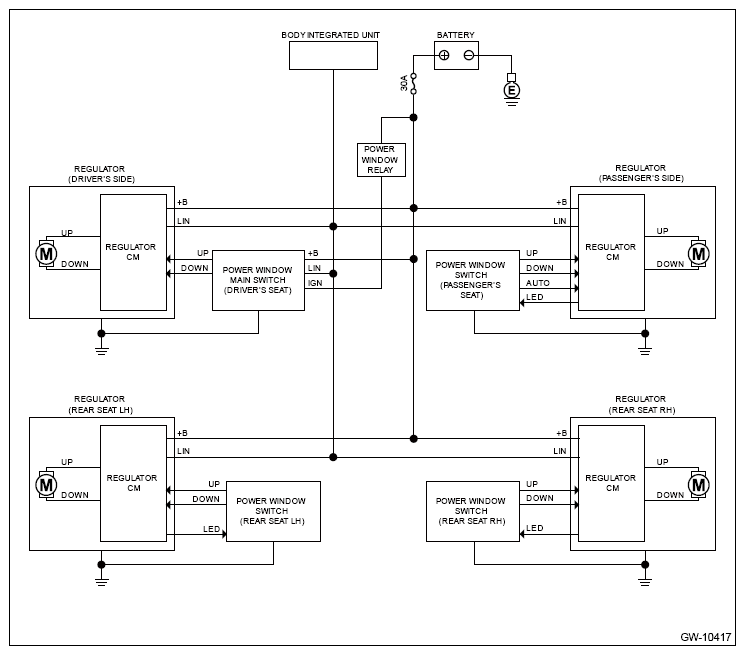
System Block Diagram

The base grade regulator (driver's seat), the regulator other than for the base grade (driver's and passenger's seats) or regulators for models with telematics (all seats) are equipped with a control module that controls the operational speed. It is connected with the body integrated unit via LIN communication. Operation is performed using individual switches. Only the seat equipped with the control module uses PLS signals of motor for auto-reversing and controlling operational speed.

NOTE: The following diagram varies depending on the equipment and grades.
G13203593Courtesy of SUBARU OF AMERICA, INC.