lemon-mirror:
Home >> Subaru >> 2021 >> Forester Base >> Repair and Diagnosis >> Electrical >> Horns >> Horn System >> Horn >> Inspection

Horn System: Horn: Inspection

  1. Remove the horn assembly. Ref. to COMMUNICATION SYSTEM>Horn>REMOVAL .
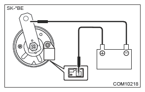
  2. Check the horn sounds when applying the battery voltage to the horn assembly.
    • Horn assembly Lo side
    G13592975Courtesy of SUBARU OF AMERICA, INC.
    • Horn assembly Hi side
    G13592976Courtesy of SUBARU OF AMERICA, INC.
    Terminal No. Inspection conditions Specification
    1 (+) - Horn case (-) Connect battery to the terminals Sounds
  3. If it does not operate normally, replace the horn assembly.