lemon-mirror:
Home >> Subaru >> 2021 >> Forester Base >> Repair and Diagnosis >> Transmission >> Automatic Trans >> CVT Transaxle System >> Drive Pinion >> Adjustment

Drive Pinion: Adjustment

  1. Using the ST, install the drive pinion retainer.

    Preparation tool: 

    ST: SOCKET (E20) (18270KA020)

    Tightening torque: 

    43 N.m (4.4 kgf.m, 31.7 ft.lb)

    G13869550Courtesy of SUBARU OF AMERICA, INC.
  2. Rotate the drive pinion several times using ST1 and ST2.

    Preparation tool: 

    ST1: HOLDER (498937110)

    ST2: WRENCH (499787700)

    G08318121Courtesy of SUBARU OF AMERICA, INC.
  3. Adjust the hypoid gear set backlash. Ref. to CONTINUOUSLY VARIABLE TRANSMISSION (TR580)>Front Differential>ADJUSTMENT .
  4. Using the ST, remove the drive pinion retainer.

    Preparation tool: 

    ST: SOCKET (E20) (18270KA020)

  5. Apply lead-free red dye evenly on the both sides of three to four teeth of the driven gear. Then install the drive pinion retainer and rotate the drive pinion in both directions several times. Remove the drive pinion retainer and check the tooth contact pattern.

    If the teeth contact is inappropriate, readjust the backlash of hypoid gear or the thickness of the drive pinion shim. Ref. to CONTINUOUSLY VARIABLE TRANSMISSION (TR580)>Front Differential>ADJUSTMENT .

    NOTE: After correction, wipe off the lead-free red dye.
    • Correct tooth contact

      Check item: Tooth contact surface is slightly shifted toward the toe side (A) under a no-load condition. (When driving, it moves towards the heel side (B).) 

      G13225996Courtesy of SUBARU OF AMERICA, INC.
    • Face contact

      Check item: Backlash is too large  .

      Contact pattern

      G06654698Courtesy of SUBARU OF AMERICA, INC.

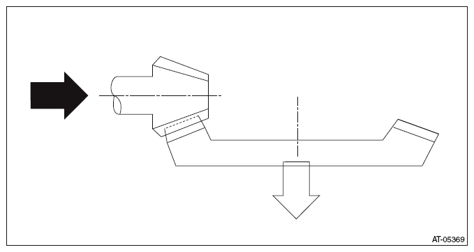
      Adjustment: Increase thickness of the drive pinion shim according to the procedures for moving the drive pinion closer to the driven gear.

      G10317717Courtesy of SUBARU OF AMERICA, INC.
    • Flank contact

      Check item: Backlash is too small  .

      Contact pattern

      G10317718Courtesy of SUBARU OF AMERICA, INC.

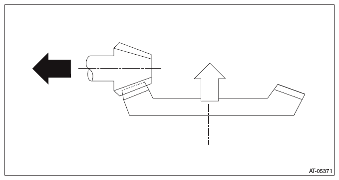
      Adjustment: Reduce the thickness of the drive pinion shim according to the procedures for moving the drive pinion away from the driven gear side.

      G10317719Courtesy of SUBARU OF AMERICA, INC.
    • Toe contact (inside contact)

      Check item: Teeth contact area is too small  .

      Contact pattern

      G10317720Courtesy of SUBARU OF AMERICA, INC.

      Adjustment: Reduce the thickness of the drive pinion shim according to the procedures for moving the drive pinion away from the driven gear side.

      G10317719Courtesy of SUBARU OF AMERICA, INC.
    • Heel contact (outside end contact)

      Check item: Teeth contact area is too small  .

      Contact pattern

      G10317722Courtesy of SUBARU OF AMERICA, INC.

      Adjustment: Increase thickness of the drive pinion shim according to the procedures for moving the drive pinion closer to the driven gear.

      G10317717Courtesy of SUBARU OF AMERICA, INC.
  6. Using the ST, loosen the differential side retainer until the mounting groove of the O-ring appears, and then install a new O-ring.
    NOTE:
    • When loosening the differential side retainer, record the number of the turns made.
    • Perform this for both left and right differential side retainers.
    • Apply the differential gear oil to O-ring.

    Preparation tool: 

    ST: WRENCH COMPL RETAINER (18658AA021)

  7. Using the ST, tighten the differential side retainer to the position before it is loosened.

    Preparation tool: 

    ST: WRENCH COMPL RETAINER (18658AA021)

  8. Replace the differential side retainer oil seal with a new part. Ref. to CONTINUOUSLY VARIABLE TRANSMISSION (TR580)>DIFFERENTIAL SIDE RETAINER OIL SEAL .
  9. Install the lock plate (A).

    Tightening torque: 

    25 N.m (2.5 kgf.m, 18.4 ft.lb)

    G13226005Courtesy of SUBARU OF AMERICA, INC.