lemon-mirror:
Home >> Subaru >> 2021 >> Forester Base >> Repair and Diagnosis >> Transmission >> Automatic Trans >> CVT Transaxle System >> Oil Pump Chain >> Disassembly >> Drive Sprocket

Drive Sprocket

  1. Remove the snap ring.
    G08318177Courtesy of SUBARU OF AMERICA, INC.
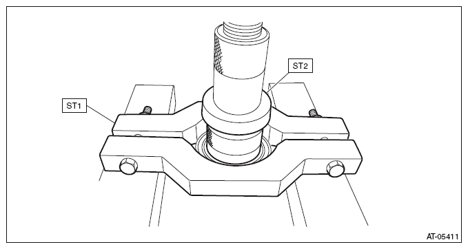
  2. Remove the ball bearing using ST1, ST2 and a press.

    Preparation tool: 

    ST1: REMOVER (498077600)

    ST2: INSTALLER (399513600)

    G10317774Courtesy of SUBARU OF AMERICA, INC.