lemon-mirror:
Home >> Subaru >> 2021 >> Forester Base >> Repair and Diagnosis >> Transmission >> Automatic Trans >> CVT Transaxle System >> Transfer Clutch >> Adjustment

Transfer Clutch: Adjustment

  1. Install the transfer clutch to the extension case with the transfer driven gear shims and thrust bearings removed.
    G08317919Courtesy of SUBARU OF AMERICA, INC.
  2. Install the thrust bearing.
    NOTE: Make sure to install in the right direction.
    G10218724Courtesy of SUBARU OF AMERICA, INC.
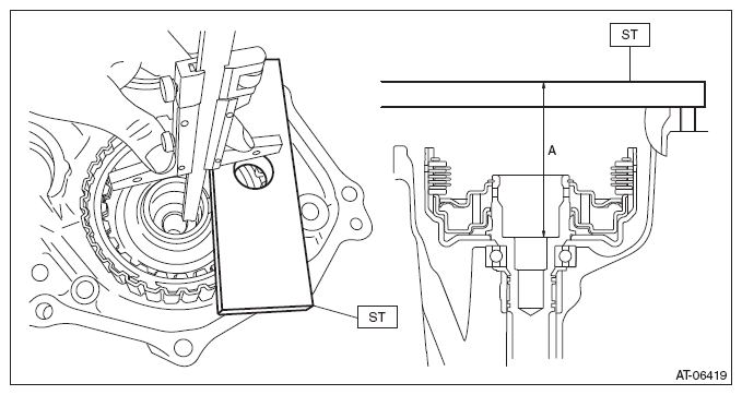
  3. Using the ST, measure the height "A" from the ST end face to the thrust bearing catch surface of the transfer clutch.

    Preparation tool: 

    ST: GAUGE (499575500)

    G08317921Courtesy of SUBARU OF AMERICA, INC.
  4. Using the ST, measure the height "B" from the transmission case mating surface to the end of ST.

    Preparation tool: 

    ST: GAUGE (499575500)

    G08317922Courtesy of SUBARU OF AMERICA, INC.
  5. Obtain the thickness of transfer driven gear shim using the following formula to select one to three transfer driven gear shims.

    T mm = A - B - (0.05 - 0.25)

    [T in = A - B - (0.002 - 0.01)]

    T: Transfer driven gear shim thickness

    A: Height from the ST end face to the transfer clutch thrust bearing catch surface

    B: Height from the mating surface of the transmission case to the end of the ST 0.05 - 0.25 mm (0.002 - 0.01 in): Clearance