lemon-mirror:
Home >> Subaru >> 2021 >> Forester Base >> Repair and Diagnosis >> Transmission >> Automatic Trans >> CVT Transaxle System >> Transfer Clutch >> Disassembly

Transfer Clutch: Disassembly

  1. Remove the snap ring (A), and then remove the pressure plate, drive plate and driven plate.
    G13225813Courtesy of SUBARU OF AMERICA, INC.
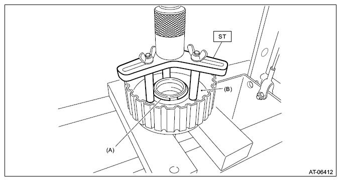
  2. Compress the return spring using the ST and a press to remove the snap ring (A) and the transfer clutch piston seal (B).

    Preparation tool: 

    ST: COMPRESSOR SPECIAL TOOL (18762AA001)

    G13225814Courtesy of SUBARU OF AMERICA, INC.
  3. Remove the return spring.
    G08317908Courtesy of SUBARU OF AMERICA, INC.
  4. Remove the transfer clutch piston by blowing compressed air through transfer clutch hole.
    NOTE: Plug the holes through which the compressed air is not blown.
    G08317909Courtesy of SUBARU OF AMERICA, INC.
  5. Remove the ball bearing using ST1, ST2 and a press.

    Preparation tool: 

    ST1: BEARING REMOVER (18767AA010)

    ST2: REMOVER (18723AA000)

    G08317910Courtesy of SUBARU OF AMERICA, INC.