lemon-mirror:
Home >> Subaru >> 2021 >> Forester Base >> Repair and Diagnosis >> Transmission >> Automatic Trans >> CVT Transaxle System >> Transmission Case >> Assembly

Transmission Case: Assembly

  1. Install the CVTF filter with its O-ring side faced to the transmission case side.
    NOTE: Apply CVTF to the O-rings.
  2. Using a new gasket, install the CVTF filter cover.

    Tightening torque: 

    17 N.m (1.7 kgf.m, 12.5 ft.lb)

  3. Install a new oil seal using ST.
    NOTE: Apply CVTF to the oil seal lip and press-fitting surface.

    Preparation tool: 

    ST: INSTALLER (18657AA000)

    G08317977Courtesy of SUBARU OF AMERICA, INC.
  4. Using a new O-ring, install the oil control valve holder, and install the plug.
    NOTE: Apply CVTF to the O-rings.

    Tightening torque: 

    50 N.m (5.1 kgf.m, 36.9 ft.lb)

  5. Install the oil guide.
  6. Press-fit the spring pin into a new ball bearing (secondary pulley side).
    1. Hold the spring pin with a knock pin punch or the like, and press-fit with a hammer.
      CAUTION: Insert wooden pieces between the contacting surfaces of the vise and the bearing race to prevent bearing race damage.
      G11255833Courtesy of SUBARU OF AMERICA, INC.
    2. Measure the height "A" of the spring pin.

      Specification: 

      4.4 mm (0.173 in) or less

      G11255834Courtesy of SUBARU OF AMERICA, INC.
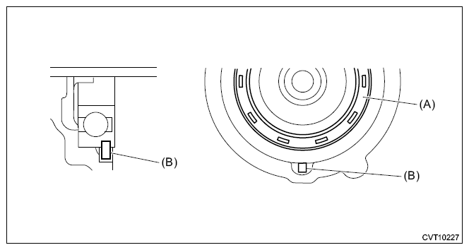
  7. Install the ball bearing (secondary pulley side) using ST1, ST2, ST3 and a press.
    NOTE:
    • Align the spring pin (B) to the cutout of the transmission case.
    • Press-fit the spring pin (B) so that it is positioned on near side (the retainer (A) should be seen on your side).
    G13225875Courtesy of SUBARU OF AMERICA, INC.

    Preparation tool: 

    ST1: BUSHING 1-2 INSTALLER (499277100)

    ST2: INSTALLER (398177700)

    ST3: PRESS SNAP RING (28499TC010)

    G11255835Courtesy of SUBARU OF AMERICA, INC.
  8. Install the plugs using new O-rings and new gaskets.
    NOTE:
    • Apply CVTF to the O-rings.
    • For the plug (a), fill the CVTF, and then tighten the plug using a new gasket.

    Tightening torque: 

    T1: 13 N.m (1.3 kgf.m, 9.6 ft.lb)

    T2: 22 N.m (2.2 kgf.m, 16.2 ft.lb)

    T3: 50 N.m (5.1 kgf.m, 36.9 ft.lb)

    G13225876Courtesy of SUBARU OF AMERICA, INC.
  9. Install the oil stopper plate.
    CAUTION: Always use a new MEC (Micro-encapsulated) bolt.

    Tightening torque: 

    9 N.m (0.9 kgf.m, 6.6 ft.lb)

  10. Install the thrust bearing.
    NOTE: Make sure to install in the right direction.
    G11255839Courtesy of SUBARU OF AMERICA, INC.
  11. Install the roller bearing.