lemon-mirror:
Home >> Subaru >> 2021 >> Outback Base >> Repair and Diagnosis >> Suspension >> Front Suspension System And Wheel Alignment >> Wheel Alignment >> Inspection >> Front Toe-In

Front Toe-In

Toe-in: Inspection value 

0±3 mm (0±0.12 in)

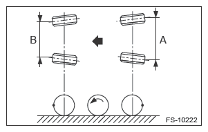
  1. Set the toe-in gauge in the position at wheel axis center height behind the right and left front tires.
  2. Place a mark at the center of both left and right tires, and measure distance "A" between the marks.
  3. Move the vehicle forward to rotate the tires 180°.
    NOTE: Rotate the tires in the forward direction.
  4. Measure the distance "B" between the left and right marks.

    Find toe-in using the following calculation:

    A - B = Toe-in 

    G13199282Courtesy of SUBARU OF AMERICA, INC.