lemon-mirror:
Home >> Subaru >> 2021 >> Outback Base >> Repair and Diagnosis >> Transmission >> Automatic Trans >> CVT Transaxle System (Tr580) >> Oil Pump >> Installation

Oil Pump: Installation

  1. Install new O-rings and a new back-up ring.
    G13950574Courtesy of SUBARU OF AMERICA, INC.
  2. Set the oil pump.
    CAUTION:
    • Align the protrusion of oil pump with the oil pump positioning groove.
    • Push in the oil pump to the vicinity of the circlip groove without using any tools.
    • Be careful not to damage the O-rings and back-up ring.
    NOTE: Apply CVTF to the O-rings and backup ring.
    G13950575Courtesy of SUBARU OF AMERICA, INC.
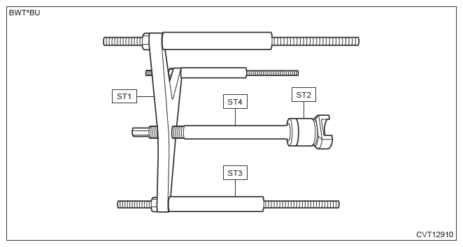
  3. Set the ST1, ST2, ST3 and ST4 as shown in the figure.
    NOTE: For ST4, use only the shaft.

    Preparation tool: 

    ST1: HOLDER (18361AA070)

    ST2: ADAPTER (18362AA080)

    ST3: STANDASSY (18632AA040)

    ST4: SLIDER (18351AA010)

    G13950576Courtesy of SUBARU OF AMERICA, INC.
  4. Attach the ST that was set in step 3.
    NOTE: Be careful not to push in anywhere other than portion (a) of the oil pump.
    G13950577Courtesy of SUBARU OF AMERICA, INC.
    G13950578Courtesy of SUBARU OF AMERICA, INC.
  5. Using the ST, push in the oil pump.
  6. Install the circlips.
    CAUTION: The circlip end should not protrude into the area (a) shown in the figure.
    G13950579Courtesy of SUBARU OF AMERICA, INC.
  7. Remove the ST from converter case.
  8. Install the oil pump chain cover. Ref. to CONTINUOUSLY VARIABLE TRANSMISSION (TR580)>OIL PUMP CHAIN>INSTALLATION .