lemon-mirror:
Home >> Subaru >> 2021 >> Outback Base >> Repair and Diagnosis >> Transmission >> Automatic Trans >> CVT Transaxle System (Tr580) >> Reduction Driven Gear >> Disassembly

Reduction Driven Gear: Disassembly

  1. Using a vise, secure the reduction driven gear.
    CAUTION: Place aluminum plates or wooden pieces between the contacting surfaces of the vise and reduction driven gear to prevent reduction driven gear damage.
    G13950642Courtesy of SUBARU OF AMERICA, INC.
  2. Flatten the tab of the lock nut.
    G13950643Courtesy of SUBARU OF AMERICA, INC.
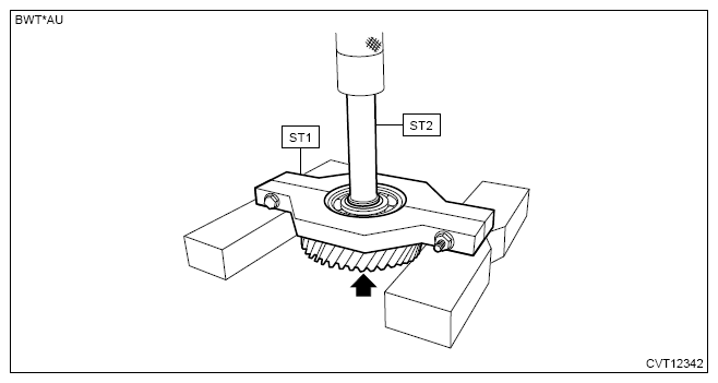
  3. Using ST1, ST2 and ST3, remove the lock nut.

    Preparation tool: 

    ST1: PULLEY WRENCH (18355AA000)

    ST2: PULLEY WRENCH PIN SET (18334AA000)

    ST3: SOCKET WRENCH (35) (499987003)

    G13950644Courtesy of SUBARU OF AMERICA, INC.
  4. Using the ST and a press, remove the transfer drive gear.
    CAUTION:
    • Do not place the ST over the parking gear.
    • Be careful not to drop the reduction drive gear.

    Preparation tool: 

    ST: BEARING REMOVER (18767AA000)

    G13950645Courtesy of SUBARU OF AMERICA, INC.
  5. Remove the ball bearing using ST1, ST2 and a press.
    CAUTION: Be careful not to drop the transfer drive gear.

    Preparation tool: 

    ST1: REMOVER (498077300)

    ST2: INSTALLER (18657AA000)

    G13950646Courtesy of SUBARU OF AMERICA, INC.
  6. Using a vise, secure the reduction driven gear.
    CAUTION: Place aluminum plates or wooden pieces between the contacting surfaces of the vise and reduction driven gear to prevent reduction driven gear damage.
    G13950647Courtesy of SUBARU OF AMERICA, INC.
  7. Using the ST, remove the parking gear.

    Preparation tool: 

    ST: PULLER ASSY (399703600)

    G13950648Courtesy of SUBARU OF AMERICA, INC.
  8. Remove the oil spacer.
    G13950649Courtesy of SUBARU OF AMERICA, INC.
  9. Remove the snap ring.
    NOTE: Perform this procedure only when required.
    G13950650Courtesy of SUBARU OF AMERICA, INC.