lemon-mirror:
Home >> Subaru >> 2021 >> Outback Limited >> Repair and Diagnosis >> Suspension >> Wheel Alignment >> Front Suspension System And Wheel Alignment >> Front Strut >> Inspection >> Strut COMPL Front

Strut COMPL Front

  1. Check for oil leaks.
  2. Move the piston rod up and down to check that it operates smoothly without any hitch.
  3. Check the piston rod for runout using the dial gauge and magnet stand.
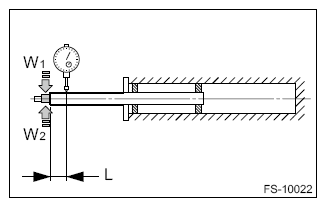
    1. Fix the outer shell.
    2. Extend the piston rod until it stops retracting, and set the dial gauge at the L position from the end of the piston rod.

      Measuring point: 

      L = 10 mm (0.39 in)

    3. While applying a force of W1 [20 N (2 kgf, 4 lbf)] to the arrowed section, read the dial gauge indication P1 .
    4. While applying a force of W2 [20 N (2 kgf, 4 lbf)] from the opposite side of W1 , read the dial gauge indication P2 .

      Play limit (P1 + P2): 

      0.8 mm (0.031 in)

      G13949597Courtesy of SUBARU OF AMERICA, INC.
  4. Replace the strut COMPL front if a fault is found in the inspection or limit value is exceeded.