lemon-mirror:
Home >> Subaru >> 2021 >> WRX Base >> Repair and Diagnosis >> Engine Performance >> Engine Control Systems >> Fuel Injection System (2.0L) >> Fuel Tank >> Installation

Fuel Tank: Installation

  1. Support the fuel tank with a transmission jack, set the fuel tank in place, and temporarily tighten the bolts of the fuel tank band.
    WARNING: A helper is required to perform this work.
    G10264912Courtesy of SUBARU OF AMERICA, INC.
  2. Tighten the bolts of the fuel tank band in the order shown in the figure.

    Tightening torque: 

    33 N.m (3.4 kgf-m, 24.3 ft-lb)

    Fig 1: Fuel Tank Band Bolts Tightening Sequence
    G10264914Courtesy of SUBARU OF AMERICA, INC.
  3. Install the heat shield cover and stopper.

    Tightening torque: 

    18 N.m (1.8 kgf-m, 13.3 ft-lb)

    G10264911Courtesy of SUBARU OF AMERICA, INC.
  4. Install the fuel tank protector. Refer to FUEL INJECTION (FUEL SYSTEMS) (W/O STI)>FUEL TANK PROTECTOR>INSTALLATION .
  5. Connect the vent tube to the vent hose.
    G09487206Courtesy of SUBARU OF AMERICA, INC.
  6. Securely insert the fuel filler hose (A) and evaporation hose (B) until the hose end contacts the spool, then attach the clamp or clip as shown in the figure.

    Tightening torque: 

    2.5 N.m (0.3 kgf-m, 1.8 ft-lb)

    G10264909Courtesy of SUBARU OF AMERICA, INC.
    G13641244Courtesy of SUBARU OF AMERICA, INC.
  7. Install the rear differential. Refer to DIFFERENTIALS>REAR DIFFERENTIAL (T-TYPE)>INSTALLATION .
  8. Install the rear exhaust pipe. Refer to EXHAUST(W/O STI)>REAR EXHAUST PIPE>INSTALLATION .
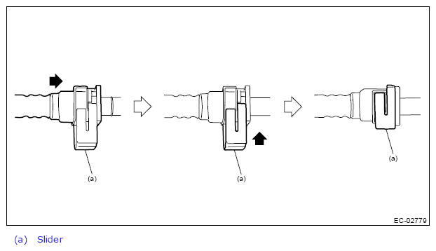
  9. Connect the quick connector of the fuel delivery tube.
    CAUTION:
    • Check that there is no damage or dust on the quick connector. If necessary, clean the seal surface of the pipe.
    • When connecting the quick connector, make sure to insert it all the way in before locking the slider.
    • When it is difficult to lock the slider, check that the connector is fully inserted.
    • After locking the slider, pull the quick connector itself to the disconnecting direction, and then push to the connecting direction in order to confirm secure connection. Make sure to end this check with a pushing step.
    NOTE: Connect the quick connector as shown in the figure.
    G13641245Courtesy of SUBARU OF AMERICA, INC.
    G08315490Courtesy of SUBARU OF AMERICA, INC.
  10. Connect the connector to the fuel sub level sensor.
    CAUTION: Before connecting, check that there are no foreign objects, water, etc. in the connectors of the fuel sub level sensor and harness. If any foreign objects and water are found, remove them with air blow and completely dry the connectors to connect.
    G08315488Courtesy of SUBARU OF AMERICA, INC.
  11. Install the service hole cover of fuel sub level sensor.
    G08315487Courtesy of SUBARU OF AMERICA, INC.
  12. Connect the connector to the fuel pump.
    CAUTION: Before connecting, check that there are no foreign objects, water, etc. in the connectors of the fuel pump and harness. If any foreign objects and water are found, remove them with air blow and completely dry the connectors to connect.
    G09475615Courtesy of SUBARU OF AMERICA, INC.
  13. Install the service hole cover of fuel pump.
    G08315485Courtesy of SUBARU OF AMERICA, INC.
  14. Install the rear seat cushion. Refer to SEATS>REAR SEAT>INSTALLATION .
  15. Connect the ground terminal to battery sensor. Refer to NOTE>NOTE>BATTERY .