lemon-mirror:
Home >> Subaru >> 2021 >> WRX Base >> Repair and Diagnosis >> Suspension >> Rear Suspension System >> General Description >> Specification >> STI Model

STI Model

Tire size 245/40R18
245/35R19
245/35ZR19
Wheel arch height (Tolerance: +12 mm-24 mm (+0.47 in-0.94 in )) mm (in) 362 (14.25)
Camber (tolerance: ±0°45' Differences between RH and LH: 45' or less) -1°40'
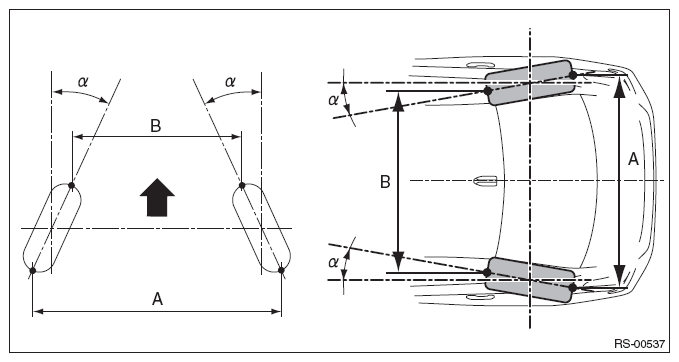
Toe-in mm (in) IN3±3 (IN0.12±0.12)
Toe angle (sum of both wheels): IN0°16'±16'
Thrust angle (tolerance: 0°00'±30') 0°00'
NOTE:
  • Adjust with the value less than the inspection value, taking aging variation into consideration.
  • Front toe-in, rear toe-in and front camber can be adjusted. Adjust if the value of toe-in or camber exceeds the tolerance range of the specification chart.
  • Other items except for front toe-in, rear toe-in and front camber that are described in the specification chart cannot be adjusted.
  • If other items exceed the tolerance range of the specification chart, check the suspension parts and connections for deformation. If defective, replace with new parts.
G10269463Courtesy of SUBARU OF AMERICA, INC.

A - B = Positive: Toe-in, Negative: Toe-out 

α = Individual toe angles