lemon-mirror:
Home >> Subaru >> 2021 >> WRX Base >> Repair and Diagnosis >> Suspension >> Wheel Alignment >> Front Suspension System And Wheel Alignment >> Front Arm >> Assembly >> Rear Bushing

Rear Bushing

  1. Before installation, inspect the following items and replace any faulty part with a new one.
    • Check the front arm assembly for damage or cracks, and replace if defective.
    • Visually check the bushing for abnormal cracks, fatigue or damage.
    • Visually check the boot on the ball joint for damage.
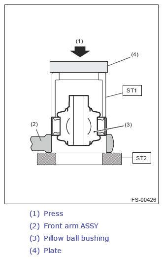
  2. Using the ST and a press, install the pillow ball bushing.
    CAUTION: Install with the longer inner cylinder of the pillow ball bushing facing upward and the shorter facing downward.
    G13642509Courtesy of SUBARU OF AMERICA, INC.

    Preparation tool: 

    ST1: INSTALLER & REMOVER (20099AE020)

    ST2: REMOVER (18723AA000)

    G13642510Courtesy of SUBARU OF AMERICA, INC.
    NOTE: Place a metal plate on the ST1 to use the press.