lemon-mirror:
Home >> Subaru >> 2021 >> WRX Base >> Repair and Diagnosis >> Suspension >> Wheel Alignment >> Front Suspension System And Wheel Alignment >> Front Arm >> Disassembly >> Rear Bushing

Rear Bushing

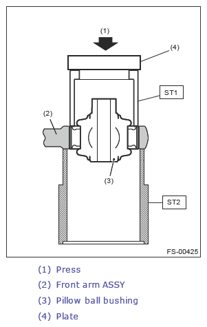
  1. Using the ST and a press, remove the pillow ball bushing.

    Preparation tool: 

    ST1: INSTALLER & REMOVER (20099AE020)

    ST2: HOUSING STAND (28099PA010)

G13642507Courtesy of SUBARU OF AMERICA, INC.
NOTE: Place a metal plate on the ST1 to use the press.