lemon-mirror:
Home >> Subaru >> 2021 >> WRX Base >> Repair and Diagnosis >> Transmission >> Automatic Trans >> Transmission Control System >> MT Gear Select Cable >> Inspection

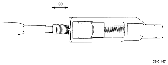
MT Gear Select Cable: Inspection

  1. Check that exposed length (a) of MT gear select cable is within specification.

    Exposed length (a) of MT gear select cable: 

    Specification: 11 mm (0.4 in)

    G06651819Courtesy of SUBARU OF AMERICA, INC.
  2. If it is not within the specification, perform the adjustment. Refer to CONTROL SYSTEMS>MT GEAR SELECT CABLE>ADJUSTMENT .