lemon-mirror:
Home >> Subaru >> 2021 >> WRX Base >> Repair and Diagnosis >> Transmission >> Automatic Trans >> Transmission Control System >> MT Gear Shift Lever >> Disassembly

MT Gear Shift Lever: Disassembly

NOTE: Disassemble procedures are only for STI model.
  1. Remove the spring pin from the slider.
    G13646835Courtesy of SUBARU OF AMERICA, INC.
  2. Remove the slider and spring.
    G13646836Courtesy of SUBARU OF AMERICA, INC.
  3. Cut off the band clip.
    G10267874Courtesy of SUBARU OF AMERICA, INC.
  4. Remove the reverse check cable from the cable plate.
    G13646838Courtesy of SUBARU OF AMERICA, INC.
  5. Remove the reverse check cable.
    G10267876Courtesy of SUBARU OF AMERICA, INC.
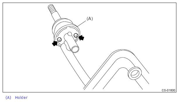
  6. Remove the holder and spring.
    G13646840Courtesy of SUBARU OF AMERICA, INC.
  7. Disassemble the lock wire.
    NOTE: Do not reuse the lock wire.
    G13646841Courtesy of SUBARU OF AMERICA, INC.
  8. Remove the boss from the rod.
    G13646842Courtesy of SUBARU OF AMERICA, INC.
  9. Remove the rod from lever.
    G13646843Courtesy of SUBARU OF AMERICA, INC.
  10. Separate the rod and inner boot.
  11. Remove the snap ring.
    G13646844Courtesy of SUBARU OF AMERICA, INC.
  12. Separate the gear shift lever and the stay.
    G10267882Courtesy of SUBARU OF AMERICA, INC.
  13. Remove the O-ring and bushing.
    G13646846Courtesy of SUBARU OF AMERICA, INC.
  14. Remove the spring pin, and then remove the bushing and snap ring.
    G13646847Courtesy of SUBARU OF AMERICA, INC.
  15. Remove the bushing and spacer from the boss.
    G13646848Courtesy of SUBARU OF AMERICA, INC.
  16. Remove the bushing and cushion rubber from the stay.
    G13646849Courtesy of SUBARU OF AMERICA, INC.