lemon-mirror:
Home >> Subaru >> 2022 >> BRZ Limited, Automatic Trans >> Repair and Diagnosis >> Transmission >> Automatic Trans >> Transmission Control System >> General Description >> Components With Torque Specifications >> Select Lever Rod

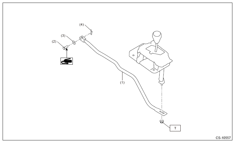
Select Lever Rod

Fig 1: Select Lever Rod Components Location
G16525426Courtesy of SUBARU OF AMERICA, INC.
(1) Select lever rod
(2) Shaft(1)
(3) Wave washer(1)
(4) Snap pin
(1) The shaft and the wave washer are set parts.

Tightening torque: N.m (kgf-m, ft-lb) 

T: 18 (1.8, 13.3)