lemon-mirror:
Home >> Subaru >> 2022 >> WRX Base, Standard Trans >> Repair and Diagnosis >> Transmission >> Automatic Trans >> Transmission Control System >> MT Gear Shift Lever >> Installation

MT Gear Shift Lever: Installation

  1. Install the MT gear shift lever.

    Tightening torque: 

    18 N.m (1.8 kgf-m, 13.3 ft-lb)

  2. Install the clip securing the harness.
  3. Install the cover center side. Ref. to EXTERIOR/INTERIOR TRIM>CENTER CONSOLE>INSTALLATION .
  4. Install the shift knob by turning it clockwise.
    CAUTION:

    Install it while avoiding the gap (a) between the shift knob and the slider becomes 11 mm (0.4 in) or less. 

    NOTE:
    • Tighten to the extent where it does not rotate during shift operation. 
    • Check that it can be shifted to the reverse. 
    G14602426Courtesy of SUBARU OF AMERICA, INC.
  5. Install the cable cover assembly.

    Tightening torque: 

    7.5 N.m (0.8 kgf-m, 5.5 ft-lb)

  6. Apply grease to the connection between the MT gear shift lever and the MT gear select cable.

    Preparation items: 

    Grease: NIPPON GREASE NIGTIGHT LTS No. 2 or equivalent

    G14602427Courtesy of SUBARU OF AMERICA, INC.
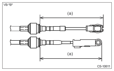
  7. Connect the MT gear shift cable and MT gear select cable.
    CAUTION:
    • Be careful not to deform the cable inner. 
    • Do not twist the cable inner more than necessary. 
    • Do not apply excessive load while holding the part (a). 
    G14602420Courtesy of SUBARU OF AMERICA, INC.
  8. Attach the cable cover plate.

    Tightening torque: 

    7.5 N.m (0.8 kgf-m, 5.5 ft-lb)

  9. Install the propeller shaft. Ref. to PROPELLER SHAFT/DRIVE SHAFT/AXLE>PROPELLER SHAFT>INSTALLATION .
  10. Connect the ground terminal to battery sensor. Ref. to REPAIR CONTENTS>NOTE>BATTERY .
  11. Check that the MT gear shift lever can be shifted into each position.
  12. Adjust the MT gear select cable. Ref. to CONTROL SYSTEMS>MT GEAR SELECT CABLE>ADJUSTMENT .
    NOTE:

    Perform this operation when the MT gear shift lever cannot be shifted into each position.