lemon-mirror:
Home >> Subaru >> 2023 >> Ascent Base >> Repair and Diagnosis >> Engine Mechanical >> Mechanical >> Engine Mechanical System >> General Description >> Components With Torque Specifications >> Rocker Cover

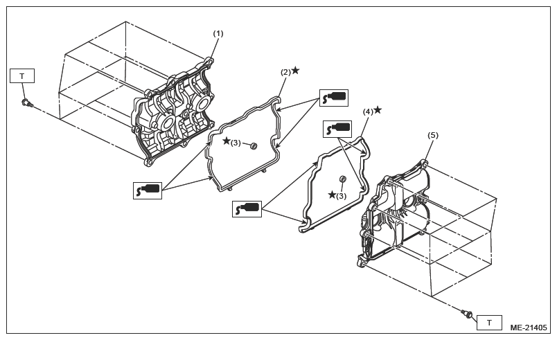
Rocker Cover

Fig 1: Rocker Cover Components Location
G16383234Courtesy of SUBARU OF AMERICA, INC.
(1) Rocker cover RH
(4) Rocker cover gasket LH
(2) Rocker cover gasket RH
(5) Rocker cover LH
(3) Rocker cover gasket

Tightening torque: N.m (kgf-m, ft-lb) 

T:  Ref. to MECHANICAL (H4DOTC)>ROCKER COVER>INSTALLATION .