lemon-mirror:
Home >> Subaru >> 2023 >> Ascent Base >> Repair and Diagnosis >> Engine Performance >> Engine Control Systems >> Fuel Injection System >> High Pressure Fuel Pump >> Installation >> High-Pressure Fuel Pump Case

High-Pressure Fuel Pump Case

  1. Apply liquid gasket to the mating surfaces of fuel pump case, and install the high-pressure fuel pump case.
    NOTE:
    • Before applying liquid gasket, degrease the old liquid gasket seal surface of the high-pressure fuel pump case and the cam carrier assembly LH.
    • Install within 5 min. after applying liquid gasket.

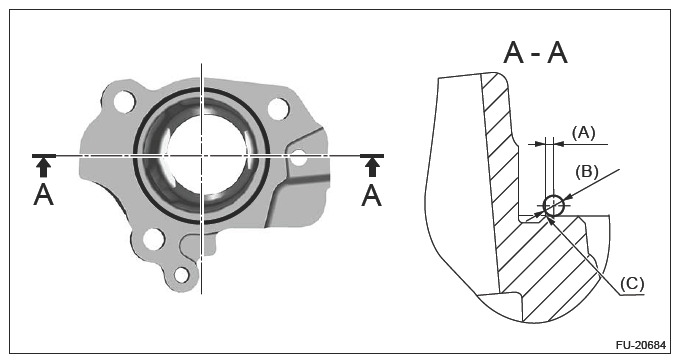
    Liquid gasket: 

    THREE BOND 1217G (part No. K0877Y0100), THREE BOND 1217H or equivalent

    Liquid gasket applying diameter: 

    3.5 ±1 mm (0.1378±0.0394 in)

    G16384089Courtesy of SUBARU OF AMERICA, INC.
    (A) Within 1 mm (within 0.0394 in)
    (B) 3.5 mm (0.1378 in)
    (C) Chamfer edge
  2. Install the high-pressure fuel pump case to the cam carrier assembly LH.

    Tightening torque: 

    19 N.m (1.9 kgf-m, 14.0 ft-lb)

    G13198256Courtesy of SUBARU OF AMERICA, INC.
  3. Install the high-pressure fuel pump. Ref. to FUEL INJECTION (FUEL SYSTEMS) (H4DOTC)>HIGH PRESSURE FUEL PUMP>INSTALLATION>HIGH-PRESSURE FUEL PUMP .