lemon-mirror:
Home >> Subaru >> 2023 >> Ascent Base >> Repair and Diagnosis >> Suspension >> Front Suspension System And Wheel Alignment >> Wheel Alignment >> Inspection >> Thrust Angle

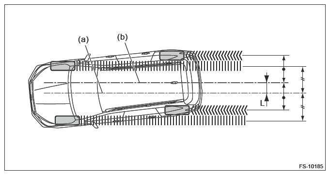
Thrust Angle

  1. Park the vehicle on a level surface.
  2. Move the vehicle 3 - 4 meters (10 - 13 ft) straight forward.
  3. Draw the center of loci for both the front and rear axles.
  4. Measure distance "L" between the center lines of the axle loci.

    Thrust angle: Inspection value 

    0°00'±30'

    Less than 30' when "L" is 23 mm (0.9 in) or less.

    G16439666Courtesy of SUBARU OF AMERICA, INC.
    (a) Center line of loci (front axle)
    (b) Center line of loci (rear axle)