lemon-mirror:
Home >> Subaru >> 2023 >> Ascent Base >> Repair and Diagnosis >> Transmission >> Automatic Trans >> CVT Transaxle System >> Drive Pinion >> Assembly

Drive Pinion: Assembly

  1. Install the plugs with new O-rings.
    NOTE: Apply CVTF to the O-rings.

    Tightening torque: 

    25 N.m (2.5 kgf-m, 18.4 ft-lb)

    G13622314Courtesy of SUBARU OF AMERICA, INC.
  2. Using the ST, install the oil seal.
    NOTE:
    • Apply CVTF to the press-fitting area.
    • Make sure to install in the right direction.

    Preparation tool: 

    ST: INSTALLER (20099AE020)

    • Pulley side
      G14611492Courtesy of SUBARU OF AMERICA, INC.
    • Front differential side
      G14611493Courtesy of SUBARU OF AMERICA, INC.
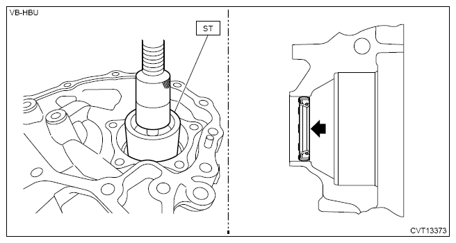
  3. Select the drive pinion shim.
    1. Using the ST and a micrometer, measure the dimension "H1" from the ST end face to the drive pinion (gear portion) end face.

      Preparation tool: 

      ST: GAUGE (499575600)

      G16389844Courtesy of SUBARU OF AMERICA, INC.
      (A) Measurement surface
    2. Using the ST and a press, press-fit a new taper roller bearing inner race (front side).

      Preparation tool: 

      ST: INSTALLER (499277200)

      G13622319Courtesy of SUBARU OF AMERICA, INC.
    3. Using a press, press-fit a new taper roller bearing outer race (A) and a new taper roller bearing (rear side) (B).
      CAUTION: Apply differential gear oil to the roller part of taper roller bearing, and rotate it 20 times or more.
      NOTE: Press in to a position where the taper roller bearing rotates smoothly without play.
      G13622320Courtesy of SUBARU OF AMERICA, INC.
    4. Install a new O-ring (B) and the drive pinion collar (A).
      NOTE: Apply the differential gear oil to O-ring.
      G13622310Courtesy of SUBARU OF AMERICA, INC.
    5. Tighten the lock nuts using ST1 and ST2.
      CAUTION: Be sure to use a new lock nut.
      NOTE: Tighten the lock nut with ST1 and torque wrench aligned straight.

      Preparation tool: 

      ST1: WRENCH (499787700)

      ST2: HOLDER (18667AA010)

      Tightening torque: 

      TIGHTENING TORQUE SPECIFICATION

      Calculation formula
      T = 116 N.m (11.8 kgf-m, 85.6 ft-lb) x L/(100 mm (3.94 in) + L)
      T: Tightening torque
      L: Effective length of torque wrench
      NOTE: If the effective length of the torque wrench used is unknown, consult the manufacturer of the torque wrench.
      G16342437Courtesy of SUBARU OF AMERICA, INC.
      (a) Effective length of the ST1 (100 mm (3.94 in))
      (b) Effective length of the torque wrench (L)
      (c) Center of drive square of the ST
      (d) Center of drive square of the torque wrench
      (e) Center of the position where a force is applied by hand
      G13200281Courtesy of SUBARU OF AMERICA, INC.
    6. Measure the initial load of the taper roller bearing using the ST and a spring scale.
      CAUTION: Before checking the initial load, apply differential gear oil to the roller part of taper roller bearing, and rotate it 20 times or more to measure the value.
      NOTE: If it exceeds the standard value, replace the taper roller bearing.

      Initial load: 

      1.5 - 4.7 kgf (14.33 - 46.37 N, 3.22 - 10.42 lbf)

      Preparation tool: 

      ST: HOLDER (18667AA010)

      G14611500Courtesy of SUBARU OF AMERICA, INC.
    7. Crimp the lock nut in 2 locations.
      G14611484Courtesy of SUBARU OF AMERICA, INC.
    8. Using the ST and a micrometer, measure the dimension "H2" from the ST end face to the taper roller bearing outer race end face.

      Preparation tool: 

      ST: GAUGE (499575600)

      G16389852Courtesy of SUBARU OF AMERICA, INC.
      (A) Measurement surface
    9. Using the following calculation, calculate an appropriate thickness "T" of the drive pinion shim.
    NOTE: Adjust using 1 - 3 pieces.

    T = (H2 - H1) - 6.55 mm (0.258 in)

    T Drive pinion shim thickness (mm (in))
    H1 Measured value (mm (in)) of step (1)
    H2 Measured value (mm (in)) of step (8)
    6.55 mm (0.258 in) Constant
  4. Install the drive pinion shim and drive pinion.
    CAUTION: Be careful not to bend the drive pinion shim.
    NOTE: Apply differential gear oil to the oil seal lip.

    Tightening torque: 

    70 N.m (7.1 kgf-m, 51.6 ft-lb)

    G16389833Courtesy of SUBARU OF AMERICA, INC.
    (A) Drive pinion
    (B) Drive pinion shim
    (C) Drive pinion retainer