lemon-mirror:
Home >> Subaru >> 2023 >> Ascent Base >> Repair and Diagnosis >> Transmission >> Automatic Trans >> CVT Transaxle System >> Front Reduction Drive Gear >> Disassembly

Front Reduction Drive Gear: Disassembly

  1. Remove the seal rings.
    G13622371Courtesy of SUBARU OF AMERICA, INC.
  2. Remove the ball bearing (rear side) using ST1, ST2 and a press.
    CAUTION: Be careful not to drop the front reduction drive gear.

    Preparation tool: 

    ST1: REMOVER (899864100)

    ST2: REMOVER (498077400)

    G13622372Courtesy of SUBARU OF AMERICA, INC.
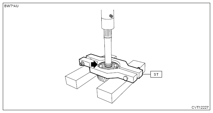
  3. Remove the ball bearing (front side) using the ST and a press.
    CAUTION: Be careful not to drop the front reduction drive gear.

    Preparation tool: 

    ST: REMOVER (498077600)

    G13622373Courtesy of SUBARU OF AMERICA, INC.