lemon-mirror:
Home >> Subaru >> 2023 >> Ascent Base >> Repair and Diagnosis >> Transmission >> Automatic Trans >> CVT Transaxle System >> Reduction Driven Gear >> Disassembly

Reduction Driven Gear: Disassembly

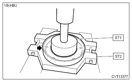
  1. Remove the bearing retainer using ST1, ST2 and a press.
    CAUTION: Be careful not to drop the reduction driven gear.

    Preparation tool: 

    ST1: INSTALLER (20099AE020)

    ST2: BEARING REMOVER (18767AA000)

    G14611370Courtesy of SUBARU OF AMERICA, INC.
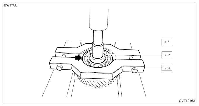
  2. Using the ST1, ST2, ST3 and a press, remove the ball bearing from the reduction driven gear.
    CAUTION: Be careful not to drop the reduction driven gear.

    Preparation tool: 

    ST1: REMOVER (899864100)

    ST2: SEAT (398497701)

    ST3: REMOVER (498077600)

    G13622208Courtesy of SUBARU OF AMERICA, INC.