lemon-mirror:
Home >> Subaru >> 2023 >> Ascent Base >> Repair and Diagnosis >> Transmission >> Automatic Trans >> CVT Transaxle System >> Transfer Clutch >> Assembly

Transfer Clutch: Assembly

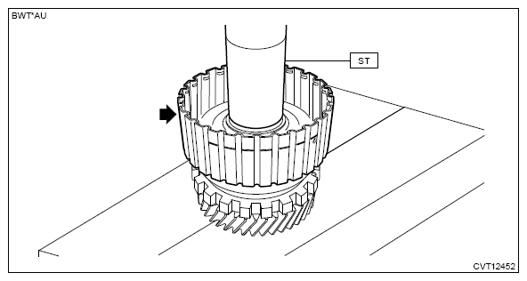
  1. Using the ST and a press, press-fit the transfer drive gear.

    Preparation tool: 

    ST: INSTALLER (398177700)

    G13622110Courtesy of SUBARU OF AMERICA, INC.
  2. Install the snap ring.
    G13622104Courtesy of SUBARU OF AMERICA, INC.
  3. Press-fit the reduction drive gear shaft using the ST and a press.

    Preparation tool: 

    ST: BUSHING 1-2 INSTALLER (499277100)

    G13622114Courtesy of SUBARU OF AMERICA, INC.
  4. Install the transfer clutch piston, return spring and transfer clutch piston seal.
    NOTE: Apply CVTF to the seal section of transfer clutch piston.
    G16389632Courtesy of SUBARU OF AMERICA, INC.
    (A) Transfer clutch piston seal
    (B) Return spring
    (C) Transfer clutch piston
    (D) Reduction drive gear shaft
  5. Compress the return spring using the ST1, ST2 and a press to install the snap ring.

    Preparation tool: 

    ST1: COMPRESSOR SPECIAL TOOL (18762AA001)

    ST2: INSTALLER (18657AA000)

    G13622100Courtesy of SUBARU OF AMERICA, INC.
  6. Blow compressed air through the hole shown in the figure, and check the transfer clutch piston operation.
    G13622102Courtesy of SUBARU OF AMERICA, INC.
  7. Select the transfer clutch plate set and pressure plate (rear side).
    NOTE: The pressure plate (front side) is included in the transfer clutch plate set.
    1. Set the pressure plate (rear side) and transfer clutch plate set to the reduction drive gear shaft, and then install the snap ring.
      NOTE: Face the smooth side of the pressure plate (rear side) toward the transfer clutch plate set.
      G16389616Courtesy of SUBARU OF AMERICA, INC.
      (A) Snap ring
      (B) Transfer clutch plate set
      (C) Pressure plate (front side)
      (D) Drive plate
      (E) Driven plate
      (F) Pressure plate (rear side)
      (G) Reduction drive gear shaft
    2. Set the shim, etc. (A) between the snap ring and pressure plate (front side) so that each plate does not tilt.
      G13622119Courtesy of SUBARU OF AMERICA, INC.
    3. Measure the clearance "C" between snap ring and pressure plate (front side) using a thickness gauge.

      Service limit: 

      1.6 mm (0.06 in)

      G16389637Courtesy of SUBARU OF AMERICA, INC.
      (A) Snap ring
      (B) Pressure plate (front side)
    4. If the value exceeds the limit, perform the following procedures.
      1. Measure the thickness of the pressure plate (front side) and pressure plate (rear side).
      2. Replace with a new transfer clutch plate set that includes a pressure plate (front side) whose thickness is close to the measured thickness of pressure plate (front side), and perform measurement from step  2 again.
      3. If it exceeds the initial standard value, adjust the thickness of pressure plate (rear side) so that the value falls within the initial standard.

        Initial standard: 

        0.7 - 1.1 mm (0.03 - 0.04 in)

  8. Using the ST and a press, press-fit a new ball bearing.
    NOTE: Apply CVTF to the press-fitting area.

    Preparation tool: 

    ST: BUSHING 1-2 INSTALLER (499277100)

    G13622121Courtesy of SUBARU OF AMERICA, INC.