lemon-mirror:
Home >> Subaru >> 2023 >> Ascent Base >> Repair and Diagnosis >> Transmission >> Automatic Trans >> CVT Transaxle System >> Transfer Clutch >> Disassembly

Transfer Clutch: Disassembly

  1. Remove the snap ring, and remove the transfer clutch plate set and pressure plate (rear side).
    G16389616Courtesy of SUBARU OF AMERICA, INC.
    (A) Snap ring
    (B) Transfer clutch plate set
    (C) Pressure plate (front side)
    (D) Drive plate
    (E) Driven plate
    (F) Pressure plate (rear side)
    (G) Reduction drive gear shaft
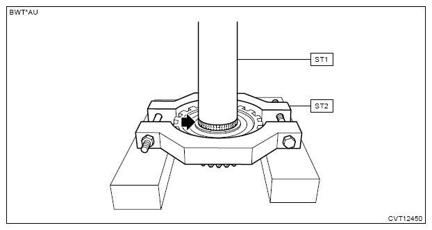
  2. Compress the return spring using the ST1, ST2 and a press to remove the snap ring.

    Preparation tool: 

    ST1: COMPRESSOR SPECIAL TOOL (18762AA001)

    ST2: INSTALLER (18657AA000)

    G13622100Courtesy of SUBARU OF AMERICA, INC.
  3. Remove the transfer clutch piston seal and return spring.
    G16389618Courtesy of SUBARU OF AMERICA, INC.
    (A) Transfer clutch piston seal
    (B) Return spring
    (C) Reduction drive gear shaft
  4. Blow compressed air through the hole shown in the figure, and remove the transfer clutch piston.
    NOTE: Plug all holes except for the one used for blowing compressed air.
    G13622102Courtesy of SUBARU OF AMERICA, INC.
  5. Remove the reduction drive gear shaft using the ST and a press.
    CAUTION: Be careful not to drop the reduction drive gear shaft.
    NOTE: Let the ST sit on the parking gear.

    Preparation tool: 

    ST: BEARING REMOVER (18767AA000)

    G13622103Courtesy of SUBARU OF AMERICA, INC.
  6. Remove the snap ring.
    G13622104Courtesy of SUBARU OF AMERICA, INC.
  7. Using the ST1, ST2 and a press, remove the transfer drive gear.
    CAUTION: Be careful not to drop the transfer drive gear.

    Preparation tool: 

    ST1: INSTALLER (899580100)

    ST2: BEARING REMOVER (18767AA000)

    G13622105Courtesy of SUBARU OF AMERICA, INC.