lemon-mirror:
Home >> Subaru >> 2023 >> Crosstrek Hybrid >> Repair and Diagnosis >> Engine Performance >> Engine Control Systems >> Fuel Injection System (HEV) >> Fuel Level Sensor >> Inspection

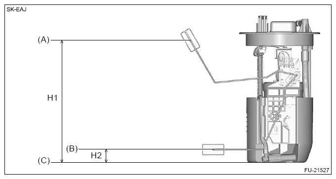
Fuel Level Sensor: Inspection

  1. Check that the fuel level sensor has no damage.
  2. Measure the fuel level sensor float position.
    NOTE: When inspecting the fuel level sensor, perform the work with the sensor installed to the fuel pump.
    G16347279Courtesy of SUBARU OF AMERICA, INC.
    (A) FULL
    (B) EMPTY
    (C) Fuel tank seating surface
    Float position Standard
    FULL - Fuel tank seating surface H1 205.9±5.0 mm (8.106±0.197 in)
    EMPTY - Fuel tank seating surface H2 20.9±5.0 mm (0.823±0.197 in)
  3. Check the resistance between fuel level sensor terminals by the connector on top of the fuel pump.
    G13231033Courtesy of SUBARU OF AMERICA, INC.
    Float position Terminal No. Standard
    FULL (A) 1 and 4 17.4±2.0 Ω
    EMPTY (B) 410.0±4.5 Ω