lemon-mirror:
Home >> Subaru >> 2023 >> Forester Base >> Repair and Diagnosis >> Engine Mechanical >> Mechanical >> Engine Mechanical System >> General Description >> Components With Torque Specifications >> Rocker Cover

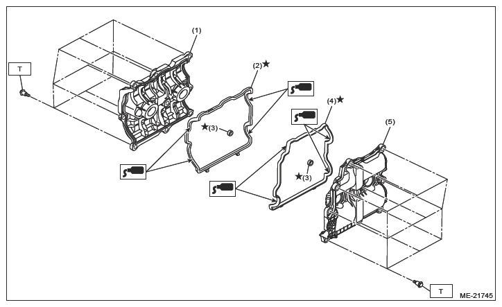
Rocker Cover

Fig 1: Rocker Cover Components Location
G16346065Courtesy of SUBARU
(1) Rocker cover RH
(2) Rocker cover gasket RH
(3) Rocker cover gasket
(4) Rocker cover gasket LH
(5) Rocker cover LH

Tightening torque: N.m (kgf-m, ft-lb) 

T:  Ref. to MECHANICAL (H4DO)>ROCKER COVER>INSTALLATION .