lemon-mirror:
Home >> Subaru >> 2023 >> Outback Base >> Repair and Diagnosis >> Suspension >> Front Suspension System And Wheel Alignment >> Wheel Alignment >> Adjustment >> Front Camber

Front Camber

Adjust the camber angle to the following value.

Model Camber (difference between RH and LH 35' or less)
Sedan model -0°05'±0°30'
OUTBACK model 0°00'±0°30'
WILDERNESS model 0°15'±0°30'
  1. Loosen the nut side, while holding the strut assembly bolt side. (2 places at upper and lower)
  2. Turn the adjusting bolt so that the camber is set at specification.
    NOTE: Moving the adjusting bolt by one scale changes the camber by approximately 0°10'.
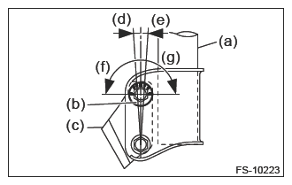
    G16349171Courtesy of SUBARU OF AMERICA, INC.
    (a) Strut ASSY
    (b) Adjusting bolt
    (c) Front axle housing
    (d) Outer direction
    (e) Inner direction
    (f) Camber is increased.
    (g) Camber is decreased.
    To increase camber.
    Rotate the left side counterclockwise. Rotate the right side clockwise.
    G06654859Courtesy of SUBARU OF AMERICA, INC.
    G06654860Courtesy of SUBARU OF AMERICA, INC.
    To decrease camber.
    Rotate the left side clockwise. Rotate the right side counterclockwise.
    G06654860Courtesy of SUBARU OF AMERICA, INC.
    G06654859Courtesy of SUBARU OF AMERICA, INC.
  3. Tighten two new self-locking nuts.
CAUTION: While holding the bolt side, tighten the nut to the specified torque.
NOTE: First, tighten the adjusting bolt (upper side) to the specified torque.

Tightening torque: 

155 N.m (15.8 kgf-m, 114.3 ft-lb)