lemon-mirror:
Home >> Subaru >> 2024 >> Crosstrek Base >> Repair and Diagnosis >> Engine Performance >> Fuel Delivery >> Fuel Injection System >> Fuel Sub Level Sensor >> Installation

Fuel Sub Level Sensor: Installation

  1. Install a new gasket to the fuel tank.
    G16760708Courtesy of SUBARU OF AMERICA, INC.
  2. Connect the fuel sub delivery tube to the fuel sub level sensor. Ref. to FUEL INJECTION (FUEL SYSTEMS) (H4DO)>FUEL DELIVERY AND EVAPORATION LINES>INSTALLATION>QUICK CONNECTOR CONNECTION (TYPE D) .
    G16760707Courtesy of SUBARU OF AMERICA, INC.
  3. Set the fuel sub level sensor to the position shown in the figure.
    CAUTION:
    • Be careful not to spill any fuel over the gasket. If any fuel is spilled onto the gasket, wipe it off completely. Otherwise the fuel sub level sensor may rotate together with the ring nut  .
    • Set the fuel sub level sensor while paying attention to prevent its arm and float from contacting the fuel tank. If the arm of the fuel sub level sensor is bent, the fuel gauge may not read correctly  .
    G16760710Courtesy of SUBARU OF AMERICA, INC.
    (A)  Position mark (fuel sub level sensor) 
    (B)  Fuel sub level sensor installation position range mark (fuel tank) 
    (C)  Front side of vehicle 
  4. Set a new ring nut plate.
    G16760711Courtesy of SUBARU OF AMERICA, INC.
  5. Set a new ring nut, and align the fuel tank installation start position mark with the ring nut position mark.
    NOTE:
    • Set the ring nut by firmly pressing against the fuel tank  .
    • Make sure that the ring nut, ring nut plate and gasket are set as shown in the figure  .
    G16760712Courtesy of SUBARU OF AMERICA, INC.
    (a)  Installation start position mark (fuel tank) 
    (b)  Position mark (ring nut) 
    (c)  Ring nut 
    (d)  Ring nut plate 
    (e)  Gasket 
  6. Using the ST, install the ring nut.
    NOTE:
    • ST FUEL PUMP (42099FL000) can also be used  .
    • ST consists of (a) - (f)  .
    G16523437Courtesy of SUBARU OF AMERICA, INC.
    (a)  Plate 
    (b)  Claw A 
    (c)  Claw B 
    (d)  T-wrench 
    (e)  Bar 
    (f)  Bolt 

    Preparation tool  :

    ST: ST FUEL PUMP (42099CC000) 

    1. Install the claw B to claw A and set the part by aligning it with the ring nut height.
      G16523452Courtesy of SUBARU OF AMERICA, INC.
      (A)  Claw A 
      (B)  Claw B 
      (C)  Ring nut 
    2. Install the claws to the plate and set the part by aligning with the ring nut.
      CAUTION: Set the part so that the 4 claws are evenly placed.
      G16523439Courtesy of SUBARU OF AMERICA, INC.
      (A)  Plate 
      (B)  Claw 
      (C)  Ring nut 
    3. Install the bar to the T-wrench and install it to the plate.
      NOTE: Install an extension bar of suitable length if necessary.
      G16523440Courtesy of SUBARU OF AMERICA, INC.
      (A)  T-wrench 
      (B)  Bar 
      (C)  Plate 
    4. Using the ST, tighten the ring nut by one turn, and then tighten until the ring nut position mark is located within the installation end position range mark on the fuel tank.
      CAUTION:
      • Make sure that the ring nut position mark is located within the installation position end range mark on the fuel tank as shown in the figure  .
      • Make sure that the position mark on the fuel sub level sensor is located within the installation position range mark on the fuel tank as shown in the figure  .

      Preparation tool  :

      ST: ST FUEL PUMP (42099CC000) 

      G16760717Courtesy of SUBARU OF AMERICA, INC.
      (A)  Ring nut installation position start mark (fuel tank) 
      (B)  Position mark (ring nut) 
      (C)  Ring nut installation position end range mark (fuel tank) 
      (D)  Fuel sub level sensor installation position range mark (fuel tank) 
      (E)  Position mark (fuel sub level sensor) 
      (F)  Front side of vehicle 
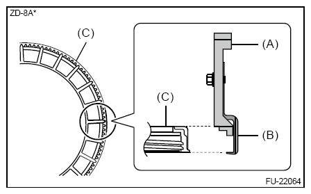
  7. Using a caliper with depth gauge, measure the dimension (3 positions) of the ring nut and the top of fuel tank to check the tightening condition of the ring nut.
    CAUTION:
    • If the measured value exceeds the standard, retighten the ring nut to correct erroneous tightening of the ring nut  .
    • If the ring nut and ring nut plate are deformed, cracked or damaged, replace them with new parts  .

    Dimension of ring nut and top of fuel tank  :

    Standard 

    21.3 - 26.3 mm (0.839 - 1.035 in) 

    G16760718Courtesy of SUBARU OF AMERICA, INC.
    (A)  Caliper with depth gauge 
    (B)  Ring nut 
    (C)  FUEL TANK 
    (D)  Dimension of ring nut and top of fuel tank 
    (E)  Measuring point 
    (F)  Front side of vehicle 
  8. Set the gasket and install the grommets.
    CAUTION:
    • If the gasket is damaged, replace it with a new part  .
    • Make sure that the gasket is installed in the correct orientation  .
    • Make sure that the grommets are fully inserted  .
    NOTE: If the threaded portion of grommet is faulty, replace the grommet with a new part.
    G16760701Courtesy of SUBARU OF AMERICA, INC.
  9. Connect the connector to the fuel sub level sensor.
    CAUTION: Before connecting, make sure that there are no foreign matters, water, etc. inside the connectors of fuel sub level sensor and harness. If any foreign matters, water, etc. are found, remove them with air blow and connect the connector after it has dried completely.
    G16760639Courtesy of SUBARU OF AMERICA, INC.
  10. Install the service hole cover LH.
    G16760638Courtesy of SUBARU OF AMERICA, INC.
  11. Install the rear seat cushion. Ref. to SEATS>REAR SEAT>INSTALLATION .
  12. Connect the ground terminal to battery sensor. Ref. to REPAIR CONTENTS>NOTE>BATTERY .