lemon-mirror:
Home >> Subaru >> 2024 >> Forester Base >> Repair and Diagnosis >> Transmission >> Automatic Trans >> CVT Transaxle System >> Oil Pump Chain >> Disassembly

Oil Pump Chain: Disassembly

  1. Remove the snap ring.
    G13622068Courtesy of SUBARU OF AMERICA, INC.
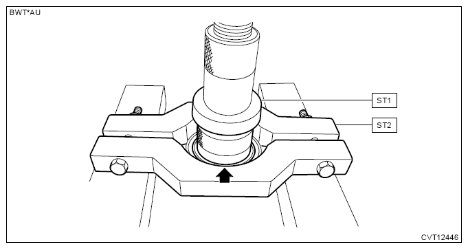
  2. Remove the ball bearing using ST1, ST2 and a press.
    CAUTION: Be careful not to drop the drive sprocket.

    Preparation tool: 

    ST1: HOUSING BUSHING INSTALLER AND REMOVER (927720000)

    ST2: REMOVER (498077600)

G13622069Courtesy of SUBARU OF AMERICA, INC.