lemon-mirror:
Home >> Subaru >> 2024 >> Forester Base >> Repair and Diagnosis >> Transmission >> Automatic Trans >> CVT Transaxle System >> Reduction Driven Gear >> Disassembly

Reduction Driven Gear: Disassembly

  1. Using a vise, secure the reduction driven gear.
    CAUTION: Place aluminum plates or wooden pieces between the contacting surfaces of the vise and reduction driven gear to prevent reduction driven gear damage.
    G13936128Courtesy of SUBARU OF AMERICA, INC.
  2. Flatten the tab of the lock nut.
    G13936129Courtesy of SUBARU OF AMERICA, INC.
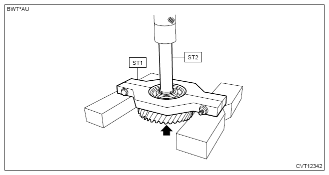
  3. Using ST1, ST2 and ST3, remove the lock nut.

    Preparation tool: 

    ST1: PULLEY WRENCH (18355AA000)

    ST2: PULLEY WRENCH PIN SET (18334AA000)

    ST3: SOCKET WRENCH (35) (499987003)

    G13936130Courtesy of SUBARU OF AMERICA, INC.
  4. Using the ST and a press, remove the transfer drive gear.
    CAUTION:
    • Do not place the ST over the parking gear.
    • Be careful not to drop the reduction drive gear.

    Preparation tool: 

    ST: BEARING REMOVER (18767AA000)

    G13936131Courtesy of SUBARU OF AMERICA, INC.
  5. Remove the ball bearing using ST1, ST2 and a press.
    CAUTION: Be careful not to drop the transfer drive gear.

    Preparation tool: 

    ST1: REMOVER (498077300)

    ST2: INSTALLER (18657AA000)

    G13936132Courtesy of SUBARU OF AMERICA, INC.
  6. Using a vise, secure the reduction driven gear.
    CAUTION: Place aluminum plates or wooden pieces between the contacting surfaces of the vise and reduction driven gear to prevent reduction driven gear damage.
    G13936133Courtesy of SUBARU OF AMERICA, INC.
  7. Using the ST, remove the parking gear.

    Preparation tool: 

    ST: PULLER ASSY (399703600)

    G13936134Courtesy of SUBARU OF AMERICA, INC.
  8. Remove the oil spacer.
    G13936135Courtesy of SUBARU OF AMERICA, INC.
  9. Remove the snap ring.
    NOTE: Perform this procedure only when required.
G16342224Courtesy of SUBARU OF AMERICA, INC.
(A) Snap ring
(B) Reduction driven gear