lemon-mirror:
Home >> Subaru >> 2025 >> Outback Base >> Repair and Diagnosis >> Suspension >> Front Suspension System And Wheel Alignment >> Wheel Alignment >> Adjustment >> Thrust Angle

Thrust Angle

When adjusting, adjust it to the following value.

Thrust angle: Adjustment value 

0°00'±20'

Less than 20' when "L" is 15 mm (0.6 in) or less.

G16336686Courtesy of SUBARU OF AMERICA, INC.
(a) Center line of loci (front axle)
(b) Center line of loci (rear axle)
  1. Make thrust angle adjustments by turning the adjusting bolts of the rear suspension equally in the same direction.
  2. When one rear tire is adjusted in a toe-in direction, adjust the other rear tire equally in a toe-out direction, in order to make the thrust angle adjustment.
  3. When the left and right adjusting bolts are turned by one graduation, the thrust angle will change approx. 15'. ("L" is approx. 11 mm (0.43 in).)
    NOTE: Thrust angle is a mean value of left and right toe angles in relation to the vehicle body center line.
    Vehicle is driven straight in the thrust angle direction while slanting in the oblique direction depending on the degree of the mean thrust angle.
    G16336699Courtesy of SUBARU OF AMERICA, INC.
    (a) Thrust angle
    (b) Body center line

    Thrust angle: 

    γ = (α - β)/2

    α: Rear RH toe-in angle

    β: Rear LH toe-in angle

    Substitute only the positive toe-in values from each tire into α and β in the calculation  .

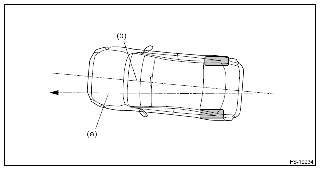
G13602021Courtesy of SUBARU OF AMERICA, INC.
(a) Front
(b) Body center line