lemon-mirror:
Home >> Suzuki >> 1988 >> Samurai Base >> Repair and Diagnosis >> Engine Performance >> Ignition System - NIPPONDENSO Electronic >> Operation

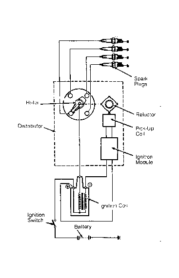
Ignition System - NIPPONDENSO Electronic: Operation

As distributor shaft turns reluctor, reluctor teeth (one for each cylinder) pass magnetic pick-up coil assembly. As air gap changes with approach and pass of each reluctor tooth, magnetic field varies creating a signal in pick-up coil assembly.

Ignition module senses this signal and turns ignition coil primary circuit on and off. This causes magnetic field in coil primary winding to collapse, resulting in a voltage surge in secondary winding.

Fig 1: Wiring Schematic of Samurai (Non-Turbo Model)
G94269Courtesy of GENERAL MOTORS CORP.