lemon-mirror:
Home >> Suzuki >> 1990 >> Sidekick JS >> Repair and Diagnosis >> Engine Performance >> System >> Engine Controls - Tests W/Codes >> Fault Code Flow Charts >> Code 22 - Throttle Position Sensor Circuit Indication Low

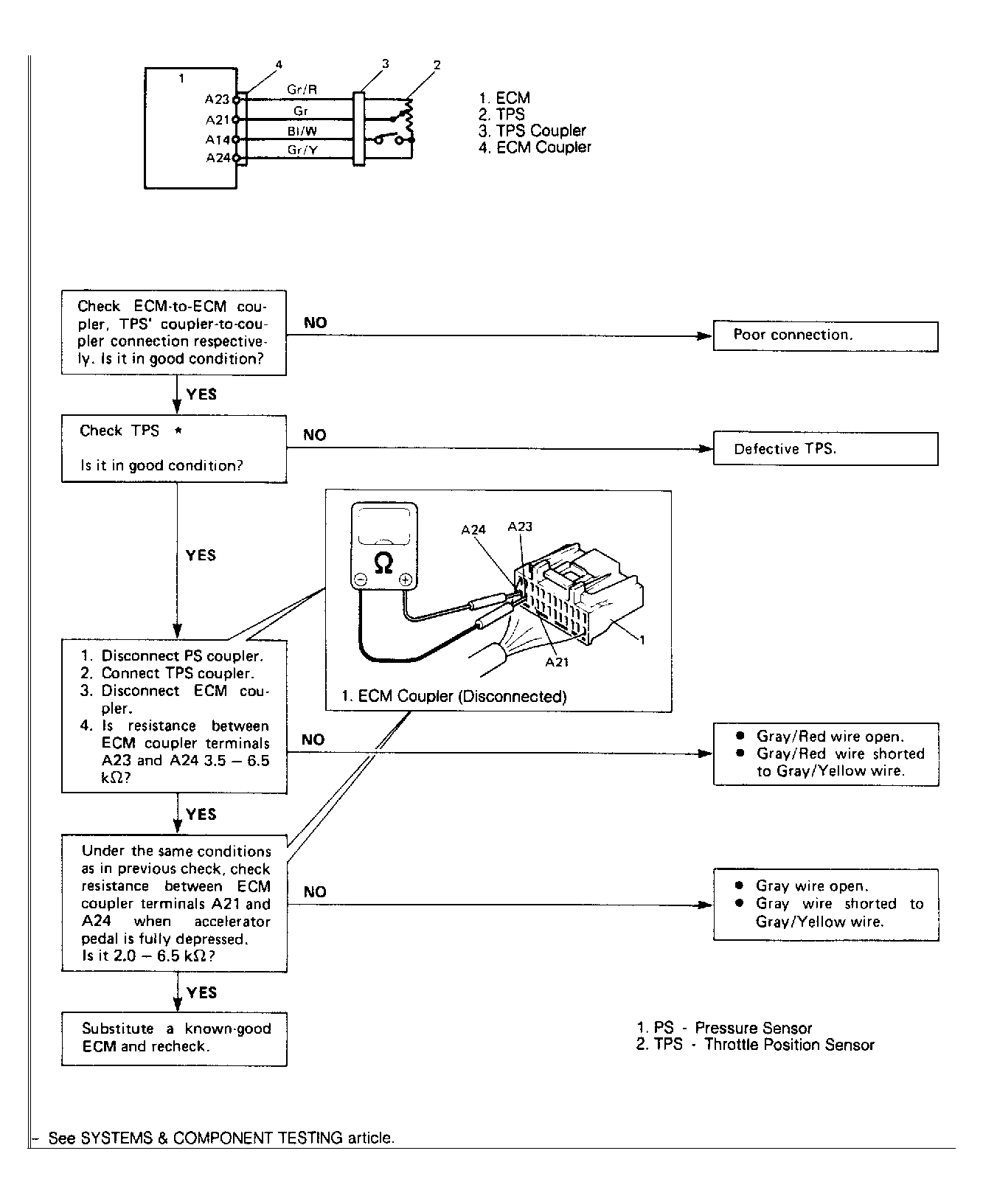
Code 22 - Throttle Position Sensor Circuit Indication Low

Fig 1: Code 22 Circuit Diagram & Flow Chart
G119595Courtesy of SUZUKI OF AMERICA CORP.