lemon-mirror:
Home >> Suzuki >> 1991 >> Sidekick JS >> Repair and Diagnosis >> Engine Performance >> System >> Engine Controls - Tests W/Codes >> Diagnostic Code Charts >> Code 21 - Throttle Position Sensor Circuit Indication High

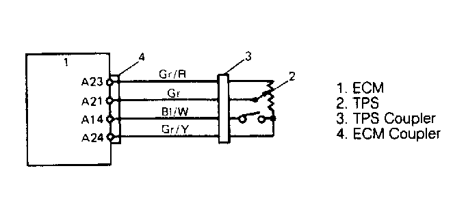
Code 21 - Throttle Position Sensor Circuit Indication High

Fig 1: Code 21 Schematic, TPS Sensor Ckt.-Indication High
G91C18491Courtesy of SUZUKI OF AMERICA CORP.
Fig 2: Code 21 Flow Chart, TPS Sensor Ckt.-Indication High
G91D18492Courtesy of SUZUKI OF AMERICA CORP.