lemon-mirror:
Home >> Suzuki >> 1991 >> Sidekick JS >> Repair and Diagnosis >> Engine Performance >> System >> Engine Controls - Tests W/Codes >> Diagnostic Code Charts >> Code 42 - Crank Angle Sensor

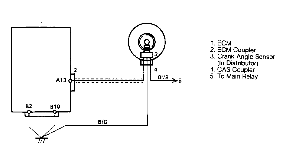
Code 42 - Crank Angle Sensor

Fig 1: Code 42 Schematic, Crank Angle Sensor
G91I18505Courtesy of SUZUKI OF AMERICA CORP.
Fig 2: Code 42 Flow Chart, Crank Angle Sensor
G91J18506Courtesy of SUZUKI OF AMERICA CORP.