lemon-mirror:
Home >> Suzuki >> 1992 >> Swift GT >> Repair and Diagnosis >> Engine Performance >> System >> Engine Controls - Tests W/Codes - SOHC >> Fault Code Flow Charts >> Code 24 - Speed Sensor Circuit Check

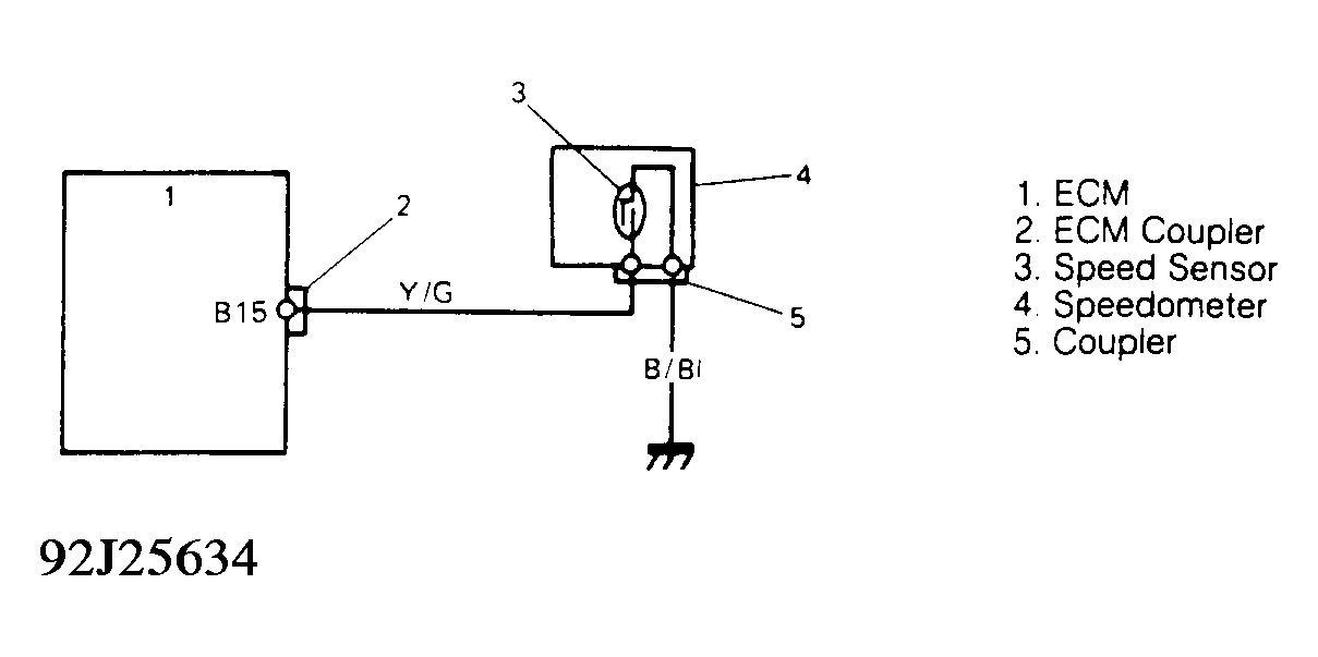
Code 24 - Speed Sensor Circuit Check

Fig 1: Code 24 Schematic, Speed Sensor Circuit Check
G92J25634Courtesy of SUZUKI OF AMERICA CORP.
Fig 2: Code 24 Flow Chart, Speed Sensor Circuit Check
G92A25635Courtesy of SUZUKI OF AMERICA CORP.