lemon-mirror:
Home >> Suzuki >> 1997 >> Esteem GL, Automatic >> Repair and Diagnosis >> Brakes >> Traction Control >> Anti-Lock Brake System >> Component Tests >> Abs Fail-Safe Relay

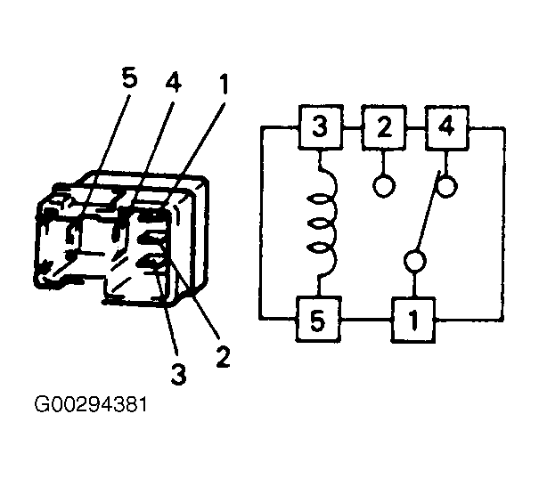
Abs Fail-Safe Relay

  1. Turn ignition off and disconnect negative battery cable. Remove ABS fail-safe relay from engine compartment fuse/relay block and check resistance between relay terminals. Resistance between relay terminals No. 3 and 5 should be 78-96 ohms at 68°F (20°C). See Fig 1 . Continuity should exist between relay terminals No. 1 and 4. No continuity should exist between relay terminals No. 1 and 2.
  2. Using jumper wires, apply battery positive voltage to relay terminal No. 3 and battery negative voltage to relay terminal No. 5. Continuity should now exist between relay terminals No. 1 and 2. Replace ABS fail-safe relay if it does not test as specified.
    Fig 1: Identifying ABS Fail-Safe Relay Terminals & Circuits
    G00294381Courtesy of SUZUKI OF AMERICA CORP.