lemon-mirror:
Home >> Suzuki >> 1997 >> Swift Automatic >> Repair and Diagnosis >> Electrical >> Gauges >> Instrument Panel >> Component Testing >> Dash Illumination Controller

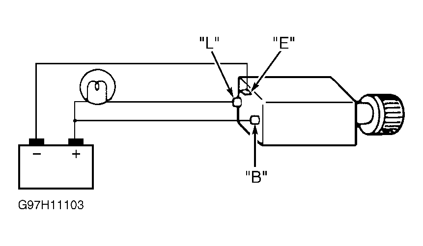
Dash Illumination Controller

Remove dash illumination controller and disconnect harness connector. Apply positive battery voltage to terminal "B" and negative battery voltage to terminal "E". Connect test light between positive battery voltage and terminal "L". SeeFig 1 . Rotating knob clockwise should brighten test light. Rotating knob counterclockwise should dim test light. If test light does not respond as specified, replace dash illumination switch.

Fig 1: Identifying Dash Illumination Controller Terminals
G97H11103Courtesy of SUZUKI OF AMERICA CORP.