lemon-mirror:
Home >> Suzuki >> 2001 >> Swift GA, Automatic >> Repair and Diagnosis >> Body & Frame >> Power Windows >> Component Tests >> Individual Power Window Switch

Individual Power Window Switch

Disconnect individual power window switch connector. Using DVOM, ensure continuity exists across specified switch terminals with switch in specified positions. See INDIVIDUAL POWER WINDOW SWITCH CONTINUITY (ESTEEM)  or INDIVIDUAL POWER WINDOW SWITCH CONTINUITY (GRAND VITARA, VITARA & XL7)  table. If continuity does not exist, replace individual power window switch.

INDIVIDUAL POWER WINDOW SWITCH CONTINUITY (ESTEEM)

Switch Position (1) Check Continuity Between Terminals No.
UP 1 & 2; 3 & 5
OFF 1 & 2; 4 & 5
DOWN 1 & 3; 4 & 5
(1) See Fig 1 .
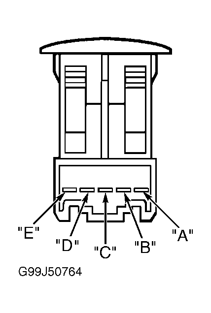
INDIVIDUAL POWER WINDOW SWITCH CONTINUITY (GRAND VITARA, VITARA & XL7)

Switch Position (1) Check Continuity Between Terminals
UP A & B; C & D
OFF A & B; D & E
DOWN A & C; D & E
(1) See Fig 2 .
Fig 1: Identifying Individual Power Window Switch Terminals (Esteem)
G96B07403Courtesy of SUZUKI OF AMERICA CORP.
Fig 2: Identifying Individual Power Window Switch Terminals (Grand Vitara, Vitara & XL7)
G99J50764Courtesy of SUZUKI OF AMERICA CORP.