lemon-mirror:
Home >> Suzuki >> 2004 >> Vitara 4WD, Automatic >> Repair and Diagnosis >> Engine Performance >> System >> Engine Electrical Devices >> Repair Instructions >> Engine Control Module (ECM) / Powertrain Control Module (PCM) Removal and Installation >> Removal

Engine Control Module (ECM) / Powertrain Control Module (PCM) Removal and Installation: Removal

  1. Disconnect battery negative cable from battery.
  2. Disable air bag system (if equipped) referring to "AIR BAG RESTRAINT SYSTEMS ".
  3. Remove ECM (PCM) cover (1) from bracket.
    Fig 1: Removing ECM (PCM) Cover From Bracket
    G02256628Courtesy of SUZUKI OF AMERICA CORP.
  4. Disconnect connectors from ECM (PCM) (1).
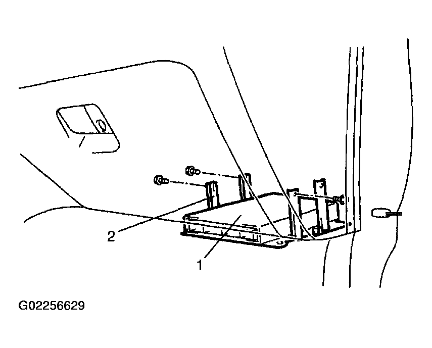
  5. Remove ECM (PCM) (1) with bracket (2).
    Fig 2: Disconnecting Connectors From ECM (PCM)
    G02256629Courtesy of SUZUKI OF AMERICA CORP.