lemon-mirror:
Home >> Suzuki >> 2004 >> Vitara RWD, Automatic >> Repair and Diagnosis >> Engine Performance >> Ignition System >> Repair Instructions >> Ignition Timing Check and Adjustment

Ignition Timing Check and Adjustment

NOTE: Before starting engine, place transmission gear shift lever in "Neutral" (shift selector lever to "P" range for A/T model), and set parking brake.
  1. Start engine and warm it up to normal operating temperature.
  2. Make sure that all of electrical loads except ignition are switched off.
  3. Check to be sure that idle speed is within specification.

    Refer to IDLE SPEED / IDLE AIR CONTROL (IAC) DUTY INSP .

  4. Connect SUZUKI scan tool to DLC (1) with ignition switch OFF, restart engine and fix ignition timing by using fixed spark mode of SUZUKI scan tool.

    Special tool 

    (A): SUZUKI scan tool 

    Fig 1: Connecting SUZUKI Scan Tool To DLC
    G02257038Courtesy of SUZUKI OF AMERICA CORP.
  5. Set timing light to ignition harness for No.1 cylinder.
  6. Using timing light, check that timing observed from viewpoint is within specification.

    Initial ignition timing of viewpoint (when it is fixed by SUZUKI scan tool)

    5+/-1° BTDC 

    Ignition order

    For J20 engine: 1-3-4-2 

    For H25 engine: 1-6-5-4-3-2 

    Special tool 

    (A): 09930-76420 

    Fig 2: Checking Initial Ignition Timing
    G02257039Courtesy of SUZUKI OF AMERICA CORP.
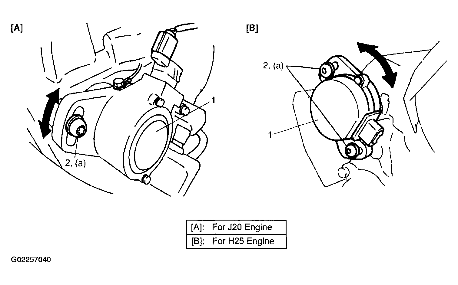
  7. If ignition timing is out of specification, loosen flange bolt (2), adjust timing by turning CMP sensor (1) while engine is running, and then tighten bolt (2).

    Tightening torque 

    CMP sensor bolt (a): 15 N.m (1.5 kg-m, 11.0 lb-ft) 

  8. After tightening bolt (2), recheck that ignition timing is within specification.
    Fig 3: Tightening CMP Sensor Bolt
    G02257040Courtesy of SUZUKI OF AMERICA CORP.
  9. After checking and/or adjusting, end fixed spark mode of SUZUKI scan tool.
    NOTE: In this state, ignition timing may vary more or less of initial ignition timing but it is nothing abnormal.
  10. With engine idling (closed throttle position and vehicle stopped), check that ignition timing is about BTDC 12°-16° (J20 engine), 11°-15° (H25 engine) (shown in the figure). Also, check that increasing engine speed advances ignition timing.

    If above check results are not satisfactory, check input signals related to this system.

    Fig 4: Checking Ignition Timing
    G02257041Courtesy of SUZUKI OF AMERICA CORP.